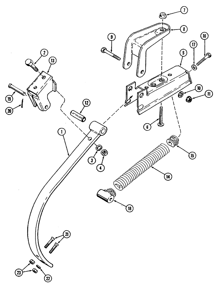
Запчасти Case IH 4400 (09-23) - SHANK ASSEMBLY - VIBRA SHANK

Схема запчастей Case IH 4400 - (09-23) - SHANK ASSEMBLY - VIBRA SHANK
21
17
4
19
12
14
13
10
8
3
23
7
16
11
20
1
9
18
2
22
5
6
15
FIT
1:1
100%

Артикул

Название

Примечание

Количество

178957A1

SHANK

assembly vibra shank

1шт.

1

813293C1

SHANK

ground working tool

1шт.

2

413-824

BOLT,Hex, 1/2" - 13 x 1-1/2", Gr 5

1шт.

3

80679

LOCK WASHER,1/20.507 CST ZND

1шт.

4

425-108

NUT,1/2" - 13, Gr 5

1шт.

5

811357C3

SUPPORT

bracket shank

1шт.

6

811340C3

BOLT,1/2" - 13 x 5 1/2"

shank mounting

1шт.

7

232-5318

FLANGE NUT,Flg, 1/2"-13

1шт.

8

137476A1

CLAMP

shank

1шт.

9

326-860

BOLT,Hex, 1/2" - 13 x 3-3/4", Gr 8

1шт.

10

496-21053

WASHER,17/32" x 1 1/16" x .134"

Hardened

1шт.

11

232-5318

FLANGE NUT,Flg, 1/2"-13

1шт.

12

811354C3

BUSHING,13.11mm ID x 19.43mm OD x 64.3mm L

shank clamp

1шт.

13

591542R1

BRACKET

CLAMP shank

1шт.

14

591546R2

SPRING

shank return

1шт.

15

591547R1

PLUG

spring retaining

1шт.

16

413-832

BOLT,Hex, 1/2" - 13 x 2", Gr 5

1шт.

17

495-11053

WASHER,1/2", SAE

(17/32" x 1-1/16" x 3/32")

1шт.

18

591544R1

PLUG

spring

1шт.

19

591545R1

PIN,13.08mm OD x 61.98mm L

special, rear plug

1шт.

20

432-1216

COTTER PIN,3/16" x 1"

1шт.

21

420-3724

CARRIAGE BOLT,#3, 7/16" - 14 x 1 1/2", Gr 8

BOLT plow, 7/16NC x 1-1/2 inch, grade 8

2шт.

22

495-81010

WASHER,.469" x 1 1/4" x .060"

flat, 15/32 x 1-1/4 x 1/16 inch

1шт.

23

425-107

NUT,7/16"-14, G5

2шт.

Выбрано товаров: 24