Запчасти Case IH 165 (08-06) - CYLINDER ASSY ROLLOVER, 339840A1 CYLINDER ASSEMBLY (08) - HYDRAULICS

Схема запчастей Case IH 165 - (08-06) - CYLINDER ASSY ROLLOVER, 339840A1 CYLINDER ASSEMBLY (08) - HYDRAULICS
19
12
18
11
8
22
13
15
4
3
21
10
20
7
6
1
2
9
5
14
FIT
1:1
100%

Артикул

Название

Примечание

Количество

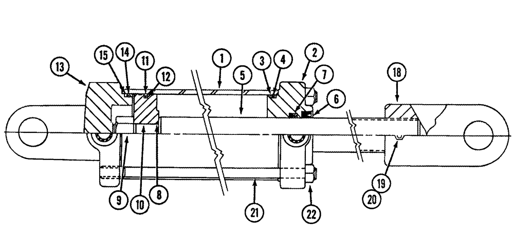
339840A1

CYLINDER ASSY.

Inc. REF 1 - 22, 3/4-16 NF Ports

1шт.

Replaced by Cyl Assy 87427115 (Seal kit 87430857)

1шт.

87427115R

REMAN-HYD CYLINDER

165, Reman for New P/N 339840A1

1шт.

87427115C

CORE-HYD CYLINDER

Return Number

1шт.

1

NSS

NOT SOLD SEPARAT

Tube

1шт.

2

347609A1

CYLINDER END CAP

1шт.

3

NSS

NOT SOLD SEPARAT

O-Ring

1шт.

4

NSS

NOT SOLD SEPARAT

Ring, Backup

1шт.

5

339842A1

PISTON ROD

1шт.

6

NSS

NOT SOLD SEPARAT

Wiper, Piston Rod

1шт.

7

NSS

NOT SOLD SEPARAT

Seal

1шт.

8

NSS

NOT SOLD SEPARAT

O-Ring

1шт.

9

230-46318

LOCK NUT,1 1/8"-12, GA

1-1/8 NF GR 8

1шт.

10

93337C1

JACK PISTON

1шт.

11

NSS

NOT SOLD SEPARAT

Seal

1шт.

12

NSS

NOT SOLD SEPARAT

O-Ring

1шт.

13

339841A1

JACK HEAD

1шт.

14

NSS

NOT SOLD SEPARAT

O-Ring

1шт.

15

NSS

NOT SOLD SEPARAT

Ring, Backup

1шт.

18

80558C1

CLEVIS,1 -3/4" - 12

1шт.

19

483-1386

SET SCREW,Hex Soc, 3/8"-16 x 3/8"

3/8 x 3/8

1шт.

20

145453C1

PLUG,Lock, 7.938mm Dia x 3.175mm Thk, Nylon

1шт.

21

93338C1

THREADED ROD,5/8" - 11 x 17.189"

4шт.

22

425-1010

NUT,5/8"-11, G5

4шт.

93339C1

SEAL KIT

Inc. REF 3, 4, 6 - 8, 11, 12, 14, 15

1шт.

Выбрано товаров: 25