Запчасти Case IH 308 (38) - REAR AXLE AND WHEEL

Схема запчастей Case IH 308 - (38) - REAR AXLE AND WHEEL
18
16
41
20
51
50
43
12
32
47
35
48
54
42
25
22
38
10
39
4
18
24
39
3
22
3
33
36
26
31
52
44
39
17
28
7
11
53
23
30
14
37
46
56
55
29
39
16
21
9
1
40
38
8
19
45
38
15
27
49
11
34
5
6
38
2
57
FIT
1:1
100%

Артикул

Название

Примечание

Количество

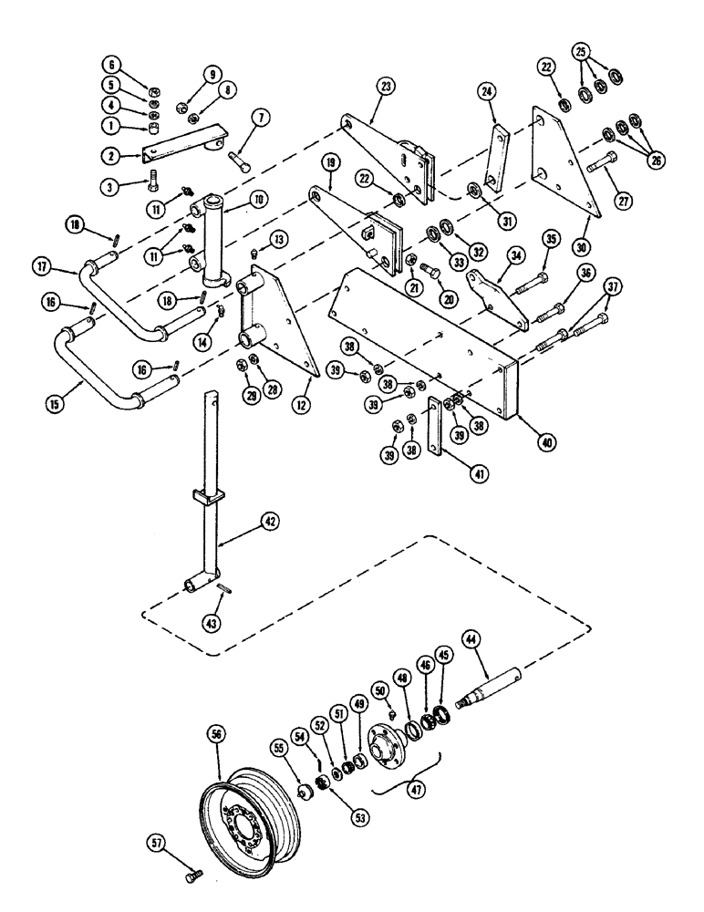
44

T54422

SPINDLE

SHAFT - spindle

1шт.

45

T54429

OIL SEAL

SEAL - oil

1шт.

46

B12409

BEARING, ROLLER,31.763 mm ID x 16.84 mm

CONE - bearing inner 1-1/4" ID (31.8MM)

1шт.

47

T54423

HUB ASSY - with cups

1шт.

48

B12408

BEARING CUP,59.156 mm OD x 11.862 mm

CUP - bearing inner 2-5/16" OD (58.7MM)

1шт.

49

B12410

BEARING, CUP,1.782" OD

CUP - bearing outer

1шт.

50

219-1

LUBE NIPPLE,1/8" - 27 NPTF

FITTING - grease 1/8"

1шт.

51

B12411

ROLLER BEARING,0.75" ID x 0.655"

CONE - bearing outer 3/4" ID (19.05MM)

1шт.

52

195-109

WASHER,3/4"

- 2 x 13/16" x 9 gauge

1шт.

53

86632554

SLOTTED NUT,3/4"-16, G5

NUT - 3/4" NF hex slotted

1шт.

54

132-312

COTTER PIN,3/16" x 1 1/4"

PIN, SPLIT (COTTER), 3/16" x 1 1/4"

1шт.

55

F63222

DUST CAP,53.98mm OD x 34.92mm W

CAP - hub

1шт.

56

T53527

WHEEL

- 15 x 5"

1шт.

57

A30064

BOLT

- wheel

6шт.

Выбрано товаров: 14