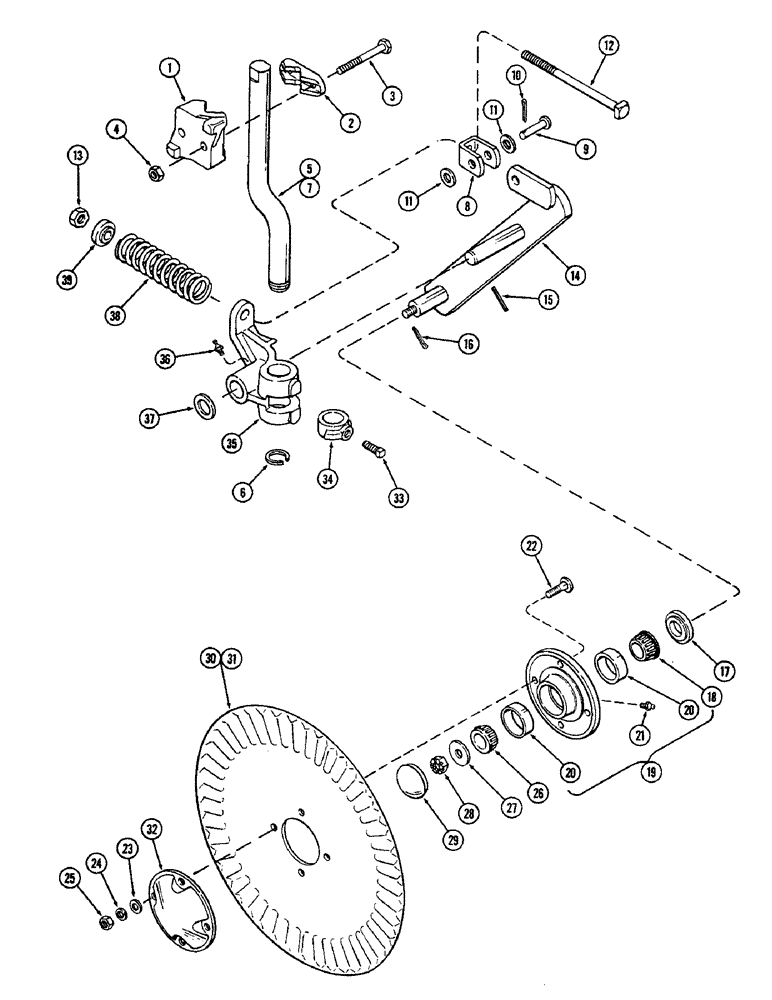
Запчасти Case IH 308 (46) - CUSHION COULTER, ANTI-FRICTION BEARING

Схема запчастей Case IH 308 - (46) - CUSHION COULTER, ANTI-FRICTION BEARING
19
32
27
26
4
1
5
11
10
13
2
24
6
9
31
23
25
17
34
20
30
29
8
18
37
22
14
3
28
15
38
16
36
20
21
35
33
12
7
11
39
FIT
1:1
100%

Артикул

Название

Примечание

Количество

1

T54200

BLOCK

- coulter

1шт.

2

T54199

CAP

- coulter block

1шт.

3

113-643

BOLT,Hex, 5/8" - 11 x 5-1/2", Gr 5

2шт.

4

129-107

NUT,5/8"-11, G5

2шт.

5

T63223

CRANK

ASSY - 17-1/4" with retaining ring

1шт.

6

T54198

RING

- retaining

1шт.

7

T56347

CRANK

- 19-1/4"

1шт.

8

T54203

CLEVIS

1шт.

9

K2039

PIN

- 5/8 x 2"

1шт.

10

132-312

COTTER PIN,3/16" x 1 1/4"

PIN, SPLIT (COTTER), 3/16" x 1 1/4"

1шт.

11

195-108

WASHER,5/8"

- 1-3/4 x 11/16" x 10 gauge

2шт.

12

117-508

BOLT,Sq Hd, 5/8" - 11 x 12", Gr 5

- 5/8 x 12" NC hex (Grade 5)

1шт.

13

129-107

NUT,5/8"-11, G5

1шт.

14

T54201

ARM

- coulter

1шт.

15

138-142

LOCK PIN,1/4" x 2", Slotted

PIN, 1/4" x 2", Slotted

1шт.

16

132-335

COTTER PIN,1/8" x 1 1/4"

1/8" x 1-1/4"

1шт.

17

T54192

SPACER

- coulter

1шт.

REF#17 NOT REQUIRED WHEN USEING NEW STYLE SPINDLE T54201 9/30/96

1шт.

18

T17079

CUP

CONE - bearing inner 1-1/4" ID (31.8MM)

1шт.

19

T54109

BUSHING

HUB ASSY - with cups

1шт.

20

B12408

BEARING CUP,59.156 mm OD x 11.862 mm

CUP - bearing 2-5/16" OD (58.7MM)

2шт.

21

219-1

LUBE NIPPLE,1/8" - 27 NPTF

FITTING - grease 1/8"

1шт.

22

111-524

CARRIAGE BOLT,Short NK, 1/2"-13 x 1 1/2", G5

BOLT - 1/2 x 1-1/2" NC carriage (Grade 5)

4шт.

23

195-533

WASHER,1/2", SAE

- 1-1/16 x 17/32" x 14 gauge

4шт.

24

192-23

LOCK WASHER,1/2"

WASHER, LOCK, 1/2"

4шт.

25

129-105

NUT,Hex, 1/2" - 13, Gr 5

4шт.

26

B12409

BEARING, ROLLER,31.763 mm ID x 16.84 mm

CONE - bearing outer 1-1/4" ID (31.8MM)

1шт.

27

T54251

WASHER

- 1-3/4" x 11/16"

1шт.

28

129-610

SLOTTED NUT,5/8"-18, G5

1шт.

29

T54197

CAP

- hub

1шт.

30

T54334

PLOW DISC

BLADE - disk 18" ripple

1шт.

31

T54196

DISC

BLADE - disk 20" ripple

1шт.

32

T54194

CAP

- disk

1шт.

33

181-812

SET SCREW,Sq Hd, 5/8"-11 x 1"

- 5/8" x 1"

1шт.

34

T54206

COLLAR

1шт.

35

T54202

PIVOT

BEARING - pivot

1шт.

36

219-1

LUBE NIPPLE,1/8" - 27 NPTF

FITTING - grease 1/8"

1шт.

37

T54169

WASHER - wear

1шт.

38

T54210

SPRING

- cushion

1шт.

39

T54205

WASHER

- spring

1шт.

Выбрано товаров: 40