Запчасти Case IH 308 (10) - BEAM

Схема запчастей Case IH 308 - (10) - BEAM
7
6
3
4
14
1
2
5
15
11
9
12
13
8
10
FIT
1:1
100%

Артикул

Название

Примечание

Количество

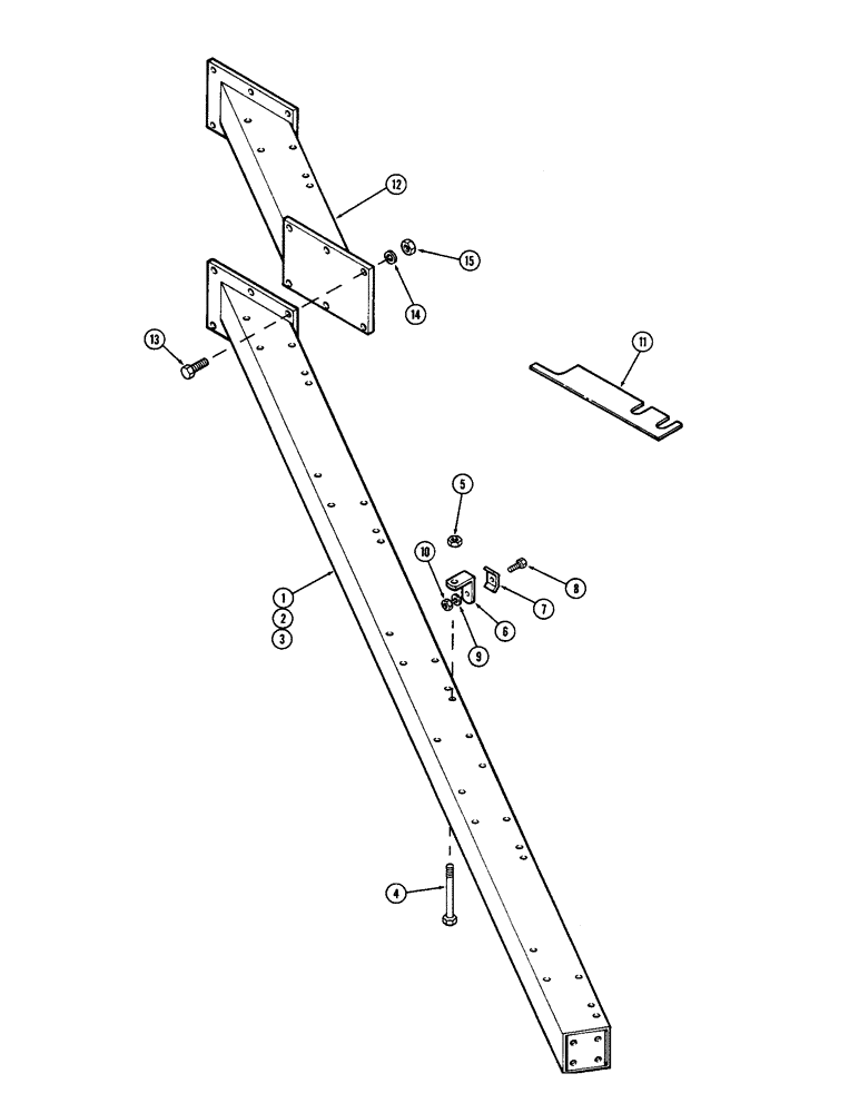
1

T55597

BEAM - three bottom

1шт.

2

T55638

BEAM - four bottom

1шт.

3

T55639

BEAM - five bottom

1шт.

4

114-602

BOLT,Hex, 5/8" - 18 x 7-1/2", Gr 5

- 5/8 x 7-1/2" NF hex (Grade 5)

2шт.

5

131-689

LOCK NUT,5/8"-11, GB

NUT - lock 5/8" NF hex

2шт.

6

T54124

HANGER - pipe (Four, five and six bottom)

2шт.

7

T54125

CLAMP - pipe hanger (Four, five and six bottom)

2шт.

8

113-219

BOLT,Hex, 3/8" - 16 x 2", Gr 5

2шт.

9

192-21

LOCK WASHER,3/8"

WASHER, LOCK, 3/8"

2шт.

10

129-103

NUT,Hex, 3/8" - 16, Gr 5

NUT, 3/8"-16, G5

2шт.

11

T54128

SHIM - beam

2шт.

12

T55599

EXTENSION - beam, frame

1шт.

13

113-712

BOLT,Hex, 3/4" - 10 x 2-1/4", Gr 5

Frame extension Hex, 3/4"-10 x 2 1/4", G5

6шт.

14

192-27

LOCK WASHER,3/4"

WASHER, LOCK, , Frame extension 3/4"

6шт.

15

129-108

NUT,3/4"-10, G5

Frame extension 3/4"-10, G5

6шт.

Выбрано товаров: 15