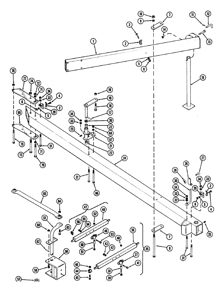
Запчасти Case IH 400-SERIES (06) - HITCH AND HITCHBAR, ON LAND HITCH

Схема запчастей Case IH 400-SERIES - (06) - HITCH AND HITCHBAR, ON LAND HITCH
20
26
71
12
21
54
45
1
29
31
2
46
41
15
50
23
14
27
58
73
24
8
25
7
9
60
42
57
2
51
17
61
28
19
4
35
43
68
48
72
5
4
36
34
63
37
7
53
29
49
31
75
66
71
32
64
5
3
52
34
34
6
11
47
67
76
62
16
39
30
33
33
33
55
10
5
74
13
18
65
2
22
44
38
40
6
34
6
56
59
31
33
69
22
70
77
FIT
1:1
100%

Артикул

Название

Примечание

Количество

1

T54502

BRACE - front

1шт.

2

T54125

CLAMP - pipe hanger

3шт.

3

113-253

BOLT,Hex, 3/8" - 16 x 5", Gr 5

1шт.

4

113-219

BOLT,Hex, 3/8" - 16 x 2", Gr 5

2шт.

5

192-21

LOCK WASHER,3/8"

WASHER, LOCK, 3/8"

3шт.

6

129-103

NUT,Hex, 3/8" - 16, Gr 5

NUT, 3/8"-16, G5

3шт.

7

T54514

STRAP - clamp

2шт.

8

115-803

BOLT - 1 x 19" NC hex (Grade 5)

2шт.

9

192-31

LOCK WASHER,1"

WASHER, LOCK, 1"

2шт.

10

129-110

NUT,1"-8, G5

2шт.

11

B17308

CLIP

COTTER

1шт.

12

T54156

PIN

1шт.

13

114-644

BOLT,Hex, 5/8" - 18 x 5", Gr 5

- 5/8 x 5" NF hex (Grade 5)

1шт.

14

131-689

LOCK NUT,5/8"-11, GB

NUT - lock 5/8" NF hex

1шт.

15

T54155

STAND

1шт.

16

T54509

ARM - pivot

1шт.

17

138-180

LOCK PIN,3/8" x 2 1/2", Slotted

PIN, 3/8" x 2 1/2", Slotted

1шт.

18

114-644

BOLT,Hex, 5/8" - 18 x 5", Gr 5

- 5/8 x 5" NF hex (Grade 5)

1шт.

19

131-689

LOCK NUT,5/8"-11, GB

NUT - lock 5/8" NF hex

1шт.

20

T54510

WASHER

- wear

1шт.

21

T54503

PIVOT ASSEMBLY - with bushings

1шт.

22

T54504

BUSHING

2шт.

23

219-1

LUBE NIPPLE,1/8" - 27 NPTF

FITTING - grease 1/8"

1шт.

24

T54505

HITCH PIVOT

1шт.

25

219-1

LUBE NIPPLE,1/8" - 27 NPTF

FITTING - grease 1/8"

1шт.

26

T54168

CLAMP - hose

1шт.

27

T54171

EYEBOLT

1шт.

28

129-410

WING NUT,3/8"-16

NUT - wing 3/8' NC

1шт.

29

T54124

HANGER - pipe

2шт.

30

T54170

SUPPORT - rod

1шт.

31

113-2621

BOLT,Hex, 5/8" - 11 x 9-1/2", Gr 5

- 5/8 x 9-1/2" NC hex (Grade 5)

4шт.

32

195-108

WASHER,5/8"

- 1-3/4 x 11/16" x 10 gauge

1шт.

33

192-25

LOCK WASHER,5/8"

WASHER, LOCK, 5/8"

4шт.

34

129-107

NUT,5/8"-11, G5

4шт.

35

T63281

BAR

HITCHBAR ASSEMBLY - Category three (T54547 and T63278 can also be used)

1шт.

36

T56553

HITCHBAR - category three (Order T63281)

1шт.

37

T56555

PIVOT

- hitchbar

1шт.

38

T56554

SPACER - pivot

1шт.

39

113-714

BOLT,Hex, 3/4" - 10 x 5", Gr 5

1шт.

40

131-669

LOCK NUT,3/4"-10, GB

NUT - lock 3/4" NC hex

1шт.

41

113-450

BOLT,Hex, 1/2" - 13 x 3-3/4", Gr 5

- 1/2 x 3-3/4" NC hex (Grade 5)

2шт.

42

192-23

LOCK WASHER,1/2"

WASHER, LOCK, 1/2"

2шт.

43

129-105

NUT,Hex, 1/2" - 13, Gr 5

2шт.

44

T54224

COLLAR - hitch pin

2шт.

45

113-351

BOLT,Hex, 7/16" - 14 x 2-3/4", Gr 5

2шт.

46

131-667

NUT,7/16"-14, GB

NUT - lock 7/16" NC hex

2шт.

Выбрано товаров: 46