Запчасти Case IH 400-SERIES (08) - HITCH AND HITCHBAR, ON LAND HITCH, CONTINUED

Схема запчастей Case IH 400-SERIES - (08) - HITCH AND HITCHBAR, ON LAND HITCH, CONTINUED
25
77
13
29
59
28
72
18
20
71
67
71
2
49
2
6
27
6
7
58
40
74
34
5
30
31
44
60
73
8
39
43
50
66
31
69
65
54
11
57
61
22
64
33
53
15
1
5
33
7
10
32
14
70
26
38
56
62
34
19
34
4
41
21
4
75
36
45
34
9
47
22
31
69
8
33
52
17
5
48
29
16
63
3
42
12
35
51
55
46
37
2
23
24
33
76
FIT
1:1
100%

Артикул

Название

Примечание

Количество

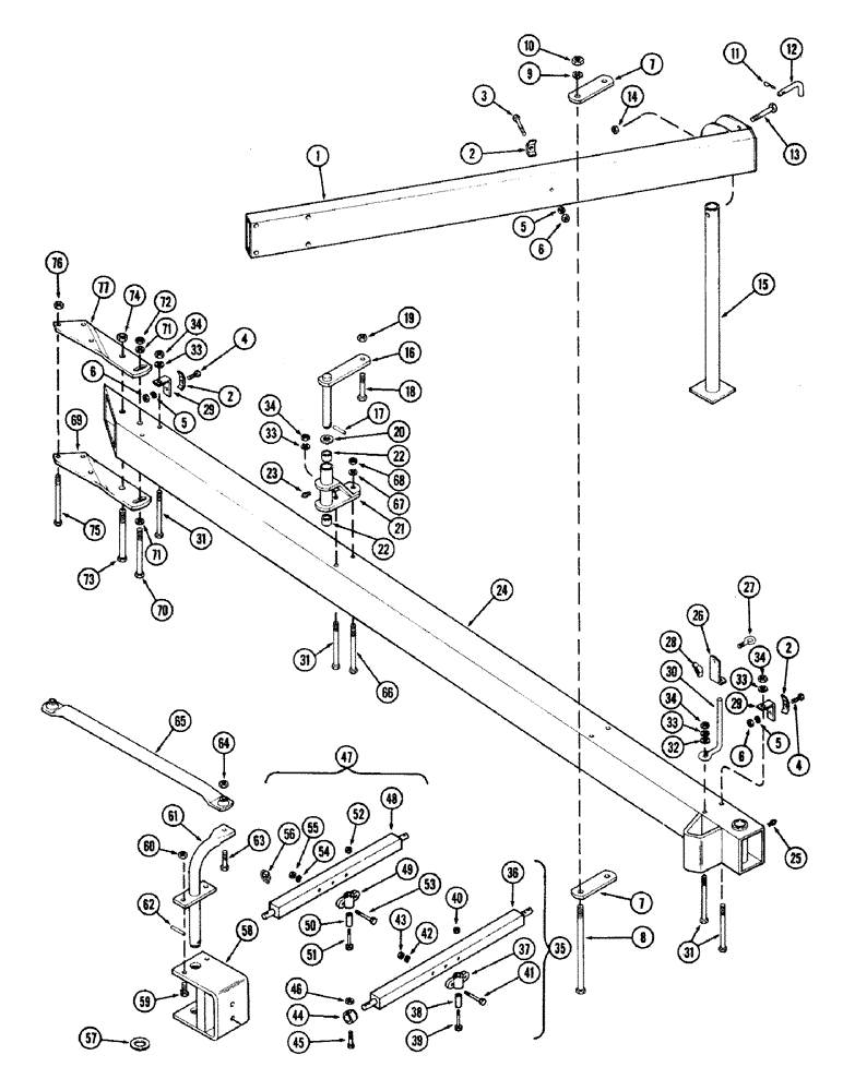
47

T63280

BAR

HITCHBAR ASSEMBLY - category two (T54546 can also be used)

1шт.

48

T56552

HITCHBAR - catetory two (Order T63280)

1шт.

49

T56555

PIVOT

- hitchbar

1шт.

50

T56554

SPACER - pivot

1шт.

51

113-714

BOLT,Hex, 3/4" - 10 x 5", Gr 5

1шт.

52

131-669

LOCK NUT,3/4"-10, GB

NUT - lock 3/4" NC hex

1шт.

53

113-450

BOLT,Hex, 1/2" - 13 x 3-3/4", Gr 5

- 1/2 x 3-3/4" NC hex (Grade 5)

2шт.

54

192-23

LOCK WASHER,1/2"

WASHER, LOCK, 1/2"

2шт.

55

129-105

NUT,Hex, 1/2" - 13, Gr 5

2шт.

56

A33509

PIN,11.18mm OD

- klik

2шт.

57

T54508

WASHER - wear

1шт.

58

T54506

BAIL - hitch

1шт.

59

114-600

BOLT,Hex, 5/8" - 18 x 2", Gr 5

- 5/8 x 2" NF hex (Grade 5)

2шт.

60

131-689

LOCK NUT,5/8"-11, GB

NUT - lock 5/8" NF hex

2шт.

61

T54507

PIN - pivot

1шт.

62

138-183

PIN, ROLL

ROLL PIN - 3/8 x 3-1/4"

1шт.

63

114-615

BOLT,Hex, 5/8" - 18 x 3-1/4", Gr 5

- 5/8 x 3-1/4" NF hex (Grade 5)

1шт.

64

131-689

LOCK NUT,5/8"-11, GB

NUT - lock 5/8" NF hex

1шт.

65

T54511

TUBE - steering front 112.5" L

1шт.

66

113-680

BOLT,Hex, 5/8" - 11 x 10", Gr 5

- 5/8 x 10" NC hex (Grade 5)

1шт.

67

192-25

LOCK WASHER,5/8"

WASHER, LOCK, 5/8"

1шт.

68

129-107

NUT,5/8"-11, G5

1шт.

69

T54512

SUPPORT - drawbar lower

1шт.

70

113-794

BOLT,Hex, 3/4" - 10 x 10-1/2", Gr 5

- 3/4 x 10-1/2" NC hex (Grade 5)

1шт.

71

195-109

WASHER,3/4"

- 2 x 13/16" x 9 gauge

2шт.

72

129-108

NUT,3/4"-10, G5

1шт.

73

113-935

BOLT,Hex, 1" - 8 x 10-1/2", Gr 5

- 1 x 10-1/2" NC hex (Grade 5)

1шт.

74

131-698

LOCK NUT,1"-8, GB

NUT - lock 1" NC hex

1шт.

75

116-602

BOLT,Hex, 5/8" - 18 x 10-1/4", Gr 8

- 5/8 x 10-1/4" NF hex (Grade 8)

3шт.

76

131-1250

NUT - lock 5/8" NF hex

3шт.

77

T54513

SUPPORT - drawbar upper

1шт.

Выбрано товаров: 31