Запчасти Case IH 450 (9-12) - SPRING TRIP BEAM

Схема запчастей Case IH 450 - (9-12) - SPRING TRIP BEAM
FIT
1:1
100%

Артикул

Название

Примечание

Количество

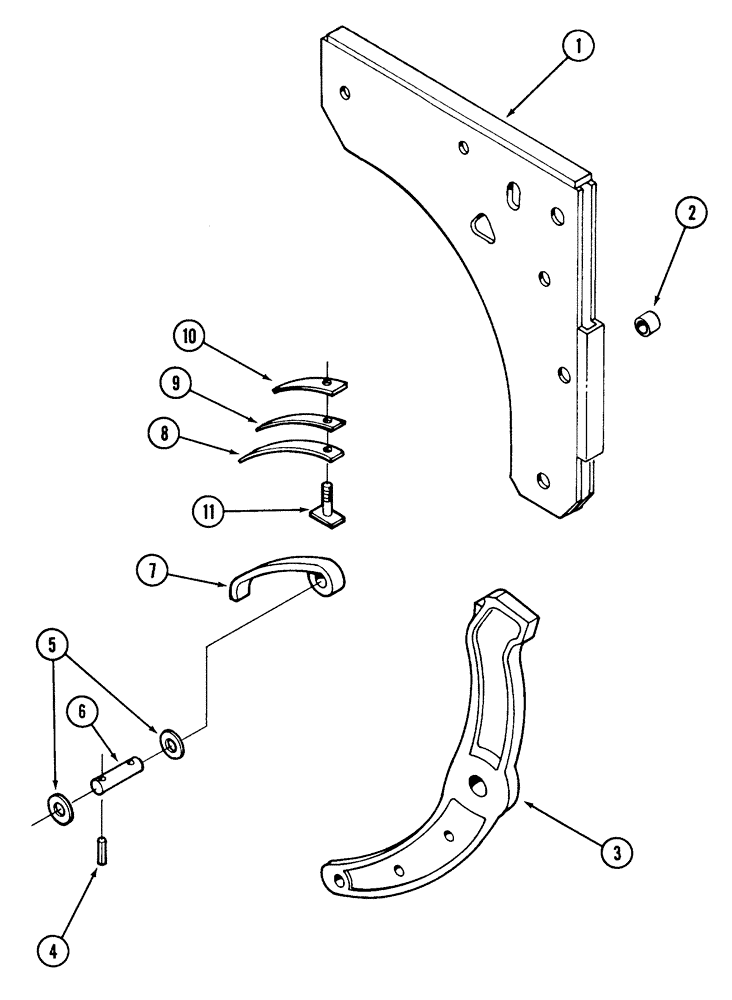
1

482782R92

TRIP

PLATE side

1шт.

465799R2

BOLT

BOLT hex, special

1шт.

425-1316

NUT,1"-14, G5

hex, slotted 1 inch NS

1шт.

432-1228

COTTER PIN,3/16" x 1 3/4"

3/16" x 1 3/4"

1шт.

2

522432R2

SPACER

tubular

1шт.

424-1052

BOLT,Hex, 5/8" - 11 x 3-1/4", Gr 2

hex, 5/8 NC x 3-1/4 inch, grade 2

1шт.

425-1010

NUT,5/8"-11, G5

1шт.

492-11062

BEARING WASHER,5/8"

WASHER, LOCK, 5/8"

1шт.

3

465800R2

BEAM

trip

1шт.

4

38-31624

ROLL PIN,1/4" x 1 1/2", Coiled

PIN, ROLL, 1/4" x 1 1/2", Coiled

2шт.

5

522473R1

WASHER

flat, 49/64 x 1-3/4 x 1/8 inch

2шт.

6

465801R1

ROLLER

trip spring

1шт.

7

465868R1

SPRING

trip

1шт.

432-1624

COTTER PIN,1/4" x 1 1/2"

Pin, Split (Cotter), 1/4" x 1-1/2"

1шт.

439-51248

HEADED PIN,3/4" x 3", G5

headed, 3/4 x 3 inch

1шт.

8

524454R1

VALVE SPRING

helper, lower

1шт.

9

524453R1

VALVE SPRING

helper, intermediate

1шт.

10

524452R1

VALVE SPRING

helper, upper

1шт.

11

484522R91

ADJUSTMENT SCREW

adjusting

1шт.

425-158

JAM NUT,Jam, 1/2"-20, G5

1шт.

25-118

NUT,1/2"-20, G5

hex, 1/2 inch NF

1шт.

Выбрано товаров: 21