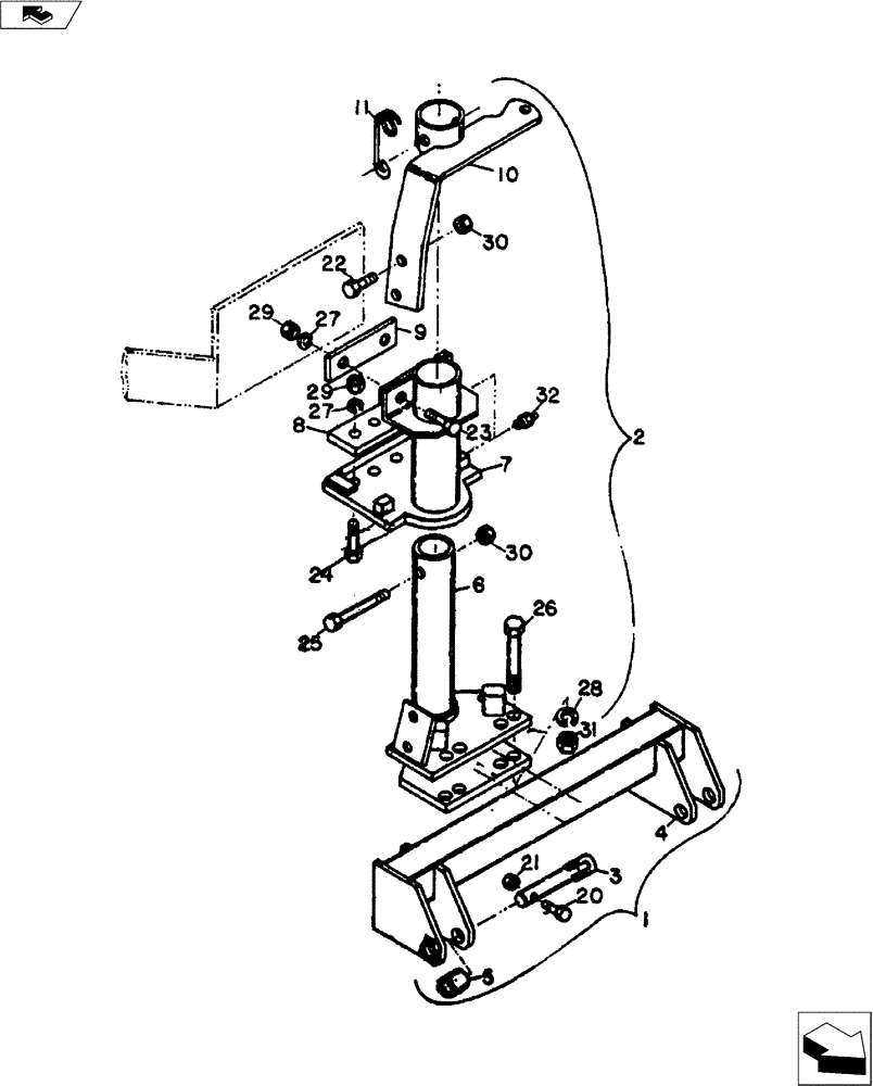
Запчасти Case IH 58C SERIES (39.110.01) - FRONT HITCH ASSEMBLY (39) - FRAMES AND BALLASTING

Схема запчастей Case IH 58C SERIES - (39.110.01) - FRONT HITCH ASSEMBLY (39) - FRAMES AND BALLASTING
30
28
25
27
21
20
10
1
6
31
23
5
4
24
8
11
29
26
9
7
3
27
32
22
2
30
29
FIT
1:1
100%

Артикул

Название

Примечание

Количество

1

49102000

Includes Ref. 3, 4, & Hardware

1шт.

1

49103000

Includes Ref. 3, 4, & Hardware

1шт.

2

49500020

Includes Ref. 5

1шт.

3

14818465

CLEVIS

1-1/8" x 5-3/4" Pin

2шт.

3

14823465

1-7/16" x 5-3/4" Pin

2шт.

4

49504000

Cat 2 Hitch Cross Bar 39" Wide

1шт.

4

49545000

Cat 3 Hitch Cross Bar 45" Wide

1шт.

5

49553000

2шт.

5

49554000

2шт.

6

49502000

1шт.

7

49547000

1шт.

8

49549000

1шт.

9

49548000

1шт.

10

49501000

1шт.

11

22306020

PIN

Pigtail

1шт.

20

NSS

NOT SOLD SEPARAT

7/16" x 2" NC Hex. Bolt

2шт.

21

NSS

NOT SOLD SEPARAT

7/16" NC Hex. Bolt

2шт.

22

NSS

NOT SOLD SEPARAT

3/4" x 2-1/2" NC Hex. Bolt

2шт.

23

NSS

NOT SOLD SEPARAT

3/4" x 3" NC Hex. Bolt Gd. 5

2шт.

24

NSS

NOT SOLD SEPARAT

3/4" x 3-1/2" NC Hex. Bolt Gd. 5

4шт.

25

NSS

NOT SOLD SEPARAT

3/4" x 6-1/2" NC Hex. Bolt

1шт.

26

16901428

7/8" x 7" NC A325

6шт.

27

NSS

NOT SOLD SEPARAT

3/4" Lock Washer

6шт.

28

NSS

NOT SOLD SEPARAT

7/8" Lock Washer

6шт.

29

NSS

NOT SOLD SEPARAT

3/4" NC Hex. Nut

6шт.

30

NSS

NOT SOLD SEPARAT

3/4" NC Lock Nut

3шт.

31

NSS

NOT SOLD SEPARAT

7/8" NC Hex. Nut

6шт.

32

NSS

NOT SOLD SEPARAT

1/8" NPT Grease Fitting

2шт.

Выбрано товаров: 28