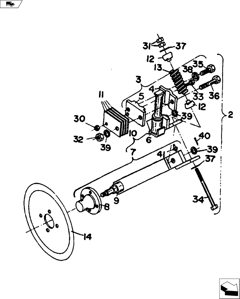
Запчасти Case IH 600 SERIES (75.200.08) - FRONT SPRING LOADED COLTER ASSEMBLY (75) - SOIL PREPARATION

Схема запчастей Case IH 600 SERIES - (75.200.08) - FRONT SPRING LOADED COLTER ASSEMBLY (75) - SOIL PREPARATION
12
12
34
32
8
30
3
11
38
10
39
13
41
33
6
36
37
35
31
7
39
39
14
9
40
37
2
FIT
1:1
100%

Артикул

Название

Примечание

Количество

1

49600051

(Not Shown)

1шт.

2

49600050

1шт.

3

49327000

Includes Ref. 4,5, & Hardware

1шт.

4

49564000

1шт.

5

20092021

CASTING

Coulter Clamp

1шт.

6

49321000

1шт.

7

49318000

Includes Ref. 8 & 9

1шт.

8

28163300

HUB ASSY.

Q-633 Spindle Assy

1шт.

9

49622000

1шт.

10

49617000

Includes Ref. 6 & Hardware

1шт.

11

49314000

4шт.

12

20090050

HOLDER

Spring Casting

2шт.

13

24156201

COMPRESSION SPRING

1шт.

14

33502041

20" (Opt)

1шт.

14

443638A1

PLOW DISC

24' Coulter Blade (Std)

1шт.

30

NSS

NOT SOLD SEPARAT

7/16" NC Hex. Nut

1шт.

31

NSS

NOT SOLD SEPARAT

5/8" NC Jam Nut

2шт.

32

NSS

NOT SOLD SEPARAT

3/4" NC Hex. Nut

1шт.

33

16007144

7/16" x 3-1/2" NC, Gd 5

1шт.

34

NSS

NOT SOLD SEPARAT

5/8" x 12" NC Hex. Bolt

1шт.

35

NSS

NOT SOLD SEPARAT

3/4" x 2" NC Hex. Bolt

1шт.

36

16012244

3/4" x 6" NC, Gd 5

1шт.

37

17411012

WASHER

21/32" ID x 1-3/4" OD x .240 Thk

2шт.

38

NSS

NOT SOLD SEPARAT

3/4" Lock Washer

2шт.

39

17620020

BUSHING,32.15mm ID x 47.63mm OD x 2.08mm L

1-1/4" Machane 14 Ga.

2шт.

40

NSS

NOT SOLD SEPARAT

1/4" x 1-1/2" Cotter Pin

1шт.

41

NSS

NOT SOLD SEPARAT

1/8" NPT Self-Tapping Zerk

1шт.

Выбрано товаров: 27