Запчасти Case IH 6500 (9-12) - ROCKSHAFT (09) - CHASSIS/ATTACHMENTS

Схема запчастей Case IH 6500 - (9-12) - ROCKSHAFT (09) - CHASSIS/ATTACHMENTS
31
11
10
26
26
2
9
5
27
1
25
28
12
4
20
6
20
27
21
30
21
29
19
13
3
14
18
FIT
1:1
100%

Артикул

Название

Примечание

Количество

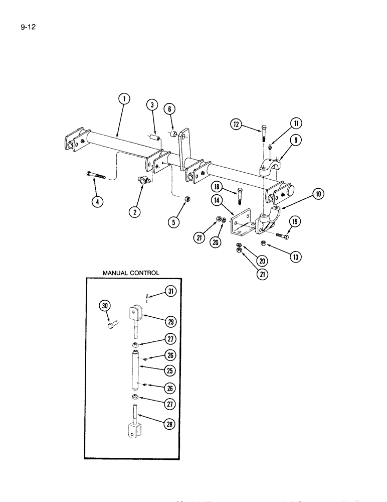
1

1256926C91

ROCKSHAFT

ASSEMBLY - disk gang, 11 foot frame, Disk gang depth control

1шт.

1

1256923C91

ROCKSHAFT

ASSEMBLY - disk gang, 14 foot frame, Disk gang depth control

1шт.

2

468532R2

PIVOT

TRUNNION ASSEMBLY - lift rod, Disk gang depth control

4шт.

3

810804C2

SPACER

- tube, Disk gang depth control

4шт.

4

413-864

BOLT,Hex, 1/2" - 13 x 4", Gr 5

- hex, 1/2 NC x 4 inch, Disk gang depth control

4шт.

5

474848R1

LOCK NUT,1/2"-13, GB

NUT - hex lock, 1/2 inch NC, Disk gang depth control

4шт.

6

112885C1

BUSHING,31.75mm ID x 38.1mm OD x 25.4mm L

- pivot, Disk gang depth control

1шт.

9

1256960C1

BEARING CAP,78 mm ID x 44.5 mm

- bearing, rockshaft, Disk gang depth control

4шт.

10

608312R2

BRACKET

- bearing, rockshaft, Disk gang depth control

4шт.

11

86636814

LUBE NIPPLE,1/4"-28 x .52" lg

FITTING - lube, straight, 1/4 inch NF, Disk gang depth control

4шт.

12

24879R1

BOLT,Hex, 5/8" - 11 x 3", Gr 8

Disk gang depth control Hex, 5/8"-11 x 3", G8

8шт.

13

131-1219

LOCK NUT,5/8"-11, GC

NUT, LOCK, , Disk gang depth control 5/8"-11, GC

8шт.

14

1256965C1

ANGLE

- support, bearing, Disk gang depth control

2шт.

18

113-628

BOLT,Hex, 5/8" - 11 x 3-1/2", Gr 5

Hex, 5/8"-11 x 3 1/2", G5, Disk gang depth control

4шт.

19

113-604

BOLT,Hex, 5/8" - 11 x 2", Gr 5

Disk gang depth control Hex, 5/8"-11 x 2", G5

4шт.

20

492-11062

BEARING WASHER,5/8"

WASHER, LOCK, , Disk gang depth control 5/8"

6шт.

21

425-1010

NUT,5/8"-11, G5

Disk gang depth control 5/8"-11, G5

6шт.

25

480249R1

TRUSS ROD

TURNBUCKLE - control, manual control (if equipped)

1шт.

26

219-17

LUBE NIPPLE,3/16" NPTF

FITTING - lube, straight, 3/16" hole, Manual control (if equipped)

2шт.

27

425-1416

JAM NUT,Jam, 1"-8, G5

- hex, jam, 1 inch NC, manual control (if equipped)

2шт.

28

488287R1

FORK

YOKE ASSEMBLY - left hand thread, manual control (if equipped)

1шт.

29

488288R1

FORK

YOKE ASSEMBLY - right hand thread, manual control (if equipped)

1шт.

30

480255R1

HEADED PIN,1" x 2 3/16"

PIN - headed, 1 x 2-3/16 inch, manual control (if equipped)

2шт.

31

432-1624

COTTER PIN,1/4" x 1 1/2"

Pin, Split (Cotter), 1/4" x 1-1/2", Manual control (if equipped)

2шт.

Выбрано товаров: 24