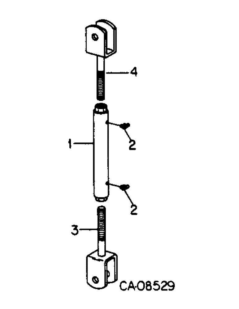
Запчасти Case IH 6500 (B-13) - TURNBUCKLE ATTACHMENT, MANUAL DISK GANG DEPTH CONTROL

Схема запчастей Case IH 6500 - (B-13) - TURNBUCKLE ATTACHMENT, MANUAL DISK GANG DEPTH CONTROL
FIT
1:1
100%

Артикул

Название

Примечание

Количество

1

480249R1

TRUSS ROD

TURNBUCKLE

1шт.

2

80722

LUBE NIPPLE,3/16" x .55" lg, Drive

FITTING, 3/16 hole lub

2шт.

3

480250R91

ROD

ASSY, LH

1шт.

426899

NUT,Jam, 1"-8, G5

1 jam type 5

1шт.

480255R1

HEADED PIN,1" x 2 3/16"

PIN, 1 x 2.188 pln hd type 1

1шт.

20340R1

COTTER PIN,1/4" x 1 1/2"

Pin, Split (Cotter), 1/4" x 1 1/2"

1шт.

4

480251R91

ROD

ASSY, RH

1шт.

426899

NUT,Jam, 1"-8, G5

1 jam type 5

1шт.

480255R1

HEADED PIN,1" x 2 3/16"

PIN, 1 x 2.188 pln HD type 1

1шт.

20340R1

COTTER PIN,1/4" x 1 1/2"

Pin, Split (Cotter), 1/4" x 1 1/2"

1шт.

Выбрано товаров: 10