Запчасти Case IH 6500 (B-14) - HYDRAULIC CYLINDERS AND CONNECTIONS

Схема запчастей Case IH 6500 - (B-14) - HYDRAULIC CYLINDERS AND CONNECTIONS
FIT
1:1
100%

Артикул

Название

Примечание

Количество

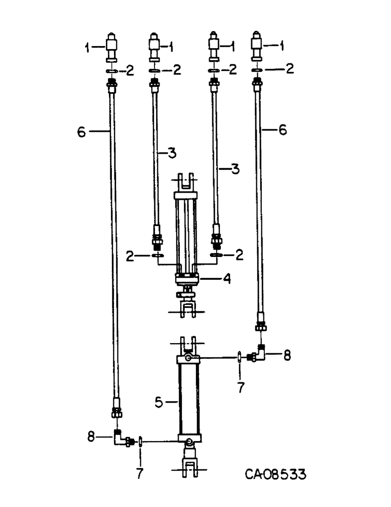
1

395149R1

QUICK MALE COUPLING

COUPLING, hyd hose male, or

4шт.

1

544787R91

COUPLING, BREAK AWAY

COUPLING, hyd hose male

4шт.

2

364885R1

O-RING,0.097" Thk x 0.755" ID, -910, Cl 6, 90 Duro

5/8 OD tube class 6

6шт.

3

480663R91

HOSE ASSY.

HOSE, 1/2 x 168 in. hyd

2шт.

4

145352C91

CYLINDER ASSY.

CYLINDER ASSY, 3-1/2 x 8 in. hyd, or

1шт.

4

371292R95

CYLINDER

ASSY, 3-1/2 x 8 in. hyd, or

1шт.

4

1263474C91

CYLINDER ASSY.

CYLINDER ASSY, 3-1/2 x 8 in. hyd, for components see list of parts under details of hydraulic cylinder, the following parts are for use w/cyl 145352C91 & 1263474C91

1шт.

1252129C1

ADAPTER,7/8" - 14 ORB x 3/4" - 16 ORB

UNION, reducer

2шт.

570828R1

O-RING,0.087" Thk x 0.644" ID, -908, Cl 6, 90 Duro

1/2 OD tube class 6

2шт.

61571C1

PIN

headed

2шт.

520175R1

CLIP

PIN, QA cotter

2шт.

5

1282032C91

CYLINDER ASSY.

CYLINDER ASSY, 4 x 8 in. w/stop collar hyd, for components see list of parts under details of hydraulic cylinder

1шт.

61571C1

PIN

headed

2шт.

520175R1

CLIP

PIN, QA cotter

2шт.

6

147886C1

HOSE,0.50" ID x 175.00", SAE 100R7

1/2 x 175 in. hyd

2шт.

7

570828R1

O-RING,0.087" Thk x 0.644" ID, -908, Cl 6, 90 Duro

1/2 OD tube class 6

2шт.

8

9410977

ELBOW,90 Degree, 3/4"-16, 37 Degree x 3/4"-16, O-Ring

1/2 C-Z hyd fld adj 90D

2шт.

Выбрано товаров: 17