Запчасти Case IH 6500 (B-16) - HYDRAULIC CYLINDER, 3.5 X 8 DOUBLE ACTING

Схема запчастей Case IH 6500 - (B-16) - HYDRAULIC CYLINDER, 3.5 X 8 DOUBLE ACTING
FIT
1:1
100%

Артикул

Название

Примечание

Количество

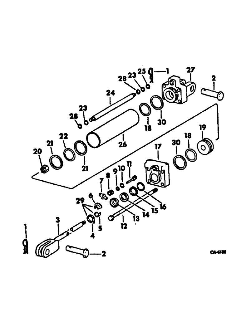
371292R95

CYLINDER

ASSY, 3.5 x 8 DA, IH, with hydraulic stroke control

1шт.

1

520175R1

CLIP

PIN, 3/16 quick attachable cot.

2шт.

2

61571C1

PIN

cylinder pivot

2шт.

3

60784C91

ROD

ASSY, piston

1шт.

4

361085R91

CLAMP

ASSY, stroke limit collar

1шт.

5

360372R1

COLLAR

stroke limit plain half

1шт.

6

361010R1

COLLAR

stroke limit flanged half

1шт.

7

361009R1

PLATE

limit stop valve retainer

1шт.

179792

BOLT,Hex, 1/4" - 20 x 9/16"

1/4 x 9/16 pln type 5

2шт.

8

361007R11

RETAINER

ASSY, limit stop valve, includes 1-404027R1

1шт.

404027R1

RETAINER

WASHER, seal o-ring

1шт.

9

O-RING, 3/16 x 5/16 x 1/16, see note (NSS)

1шт.

10

O-RING, 5/8 x 13/16 x 3/32, see note (NSS)

1шт.

11

361006R11

VALVE

ASSY, limit stop

1шт.

12

361004R1

BOLT,Hex, 1/2" - 20 x 13 7/16"

cylinder tie

4шт.

25-118

NUT,1/2"-20, G5

1/2-NF pln type 5

4шт.

13

RETAINER, piston rod dust seal, see note (NSS)

1шт.

14

SEAL, piston rod dust, see note (NSS)

1шт.

15

WASHER, rod seal back-up, see note (NSS)

1шт.

16

RING, piston rod gland, see note (NSS)

1шт.

17

60786C91

HEAD

ASSY, cylinder front

1шт.

444687

PLUG,Hex Soc, 1/8"-27

Auto, Pipe Hex Soc, 1/8"-27

1шт.

18

O-RING, 3-1/4 x 3-1/2 x 1/8, see note (NSS)

2шт.

19

361003R1

HEAD

piston

1шт.

20

9412368

NUT

3/4-16 hex. piston rod lock

1шт.

21

WASHER, piston head back, see note (NSS)

2шт.

22

O-RING, 3-1/8 x 3-1/2 x 3/16, see note (NSS)

1шт.

23

O-RING, 9/16 x 3/4 x 3/32, see note (NSS)

2шт.

24

371211R2

TUBE,0.573" ID, 0.748" OD, 10.963" Length

cylinder return

1шт.

25

103321

LOCK WASHER,3/8"

WASHER, LOCK, 3/8"

1шт.

26

354051R1

BARREL,3.5035" ID, .429" OD, 10.26" Length

TUBE, cylinder

1шт.

27

60782C1

HEAD

cylinder rear

1шт.

28

WASHER, o-ring back-up, see note (NSS)

2шт.

29

375426R91

COLLAR

ASSY, stroke limit, includes 1-393503R1

1шт.

393503R1

THUMB SCREW,5/16" - 24 x 5/8"

thumb

1шт.

30

WASHER, back-up, see note (NSS)

1шт.

363138R94

PACKAGE

hydraulic cylinder o-ring service, consists of ref nos 9, 10, 13 thru 16, 18, 21 thru 23, 28, 30

1шт.

Выбрано товаров: 37