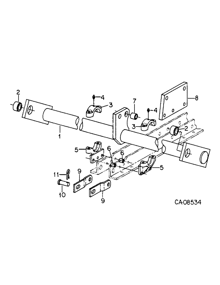
Запчасти Case IH 6500 (B-07) - ROCKSHAFT, WHEEL DEPTH CONTROL

Схема запчастей Case IH 6500 - (B-07) - ROCKSHAFT, WHEEL DEPTH CONTROL
FIT
1:1
100%

Артикул

Название

Примечание

Количество

1

1256944C91

ROCKSHAFT

ASSY, 11 foot

1шт.

1

1256945C91

ROCKSHAFT

ASSY, 14 foot, includes 2 bushing, 608310R1 & 1 bushing 112885C1

1шт.

2

608310R1

BUSHING,32.38mm ID x 50.8mm OD x 25.4mm L

outer arm

2шт.

3

1256960C1

BEARING CAP,78 mm ID x 44.5 mm

rockshaft bracket

4шт.

24879R1

BOLT,Hex, 5/8" - 11 x 3", Gr 8

8шт.

492-11062

BEARING WASHER,5/8"

WASHER, LOCK, 5/8"

8шт.

25528R1

NUT,5/8"-11, G8

5/8 PHC type 8

8шт.

4

86636814

LUBE NIPPLE,1/4"-28 x .52" lg

FITTING, 1/4 unf lub

4шт.

5

608312R2

BRACKET

rockshaft

4шт.

271723

SNAP RING,Hex, 5/8" - 11 x 2", Gr 5

5/8 x 2 type 5

6шт.

271729

BOLT,Hex, 5/8" - 11 x 3 1/2", Gr 5

5/8 x 3-1/2 type 5

3шт.

280374

NUT,Hex, 5/8" - 11, Gr 5

5/8 type 5

9шт.

492-11062

BEARING WASHER,5/8"

WASHER, LOCK, 5/8"

9шт.

6

5528S

SPACER

3/4 x .812 std pipe

3шт.

7

112885C1

BUSHING,31.75mm ID x 38.1mm OD x 25.4mm L

cyl bar

1шт.

8

1256957C1

BAR

cylinder support

1шт.

80280173

BOLT,Hex, 3/4" - 10 x 2 3/4", Gr 5

3/4 x 2-3/4 type 5

3шт.

280954

NUT,3/4"-10, G5

3шт.

87340

LOCK WASHER,Helical Spring, 0.759" ID, CST, ZND

WASHER, LOCK, 3/4"

3шт.

9

1256983C1

BAR

transport lock

2шт.

280285

BOLT,Hex, 1" - 8 x 4", Gr 5

1 x 4 type 5

1шт.

26566R1

LOCK NUT

1 P/T lock type 5

1шт.

10

25419R1

PIN

1 x 2.750 hd type 5

1шт.

11

473865R1

PIN ASSY, depth stop

1шт.

Выбрано товаров: 24