Запчасти Case IH 6650 (9-18) - SHANK, SPRING CUSHIONED (09) - CHASSIS/ATTACHMENTS

Схема запчастей Case IH 6650 - (9-18) - SHANK, SPRING CUSHIONED (09) - CHASSIS/ATTACHMENTS
14
7
18
15
3
14
17
10
12
13
2
13
8
4
9
16
19
11
1
6
5
8
FIT
1:1
100%

Артикул

Название

Примечание

Количество

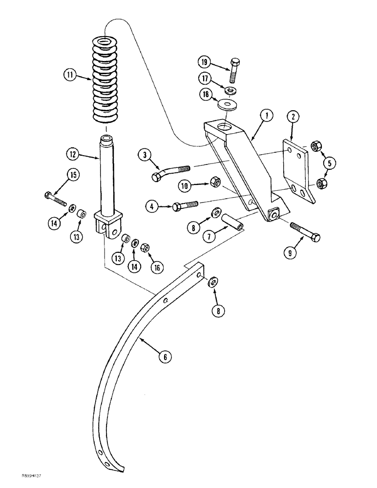
1

282040A1

BRACKET

- shank mounting

1шт.

2

282045A1

PLATE

- shank mounting bracket, bent

1шт.

3

282047A1

BOLT,Hex, 5/8" - 11 x 6 1/2", Grade 5

- special, bent

2шт.

4

426-1060

BOLT,Hex, 5/8" - 11 x 3-3/4", Gr 8

- hex, 5/8 NC x 3-3/4 inch, grade 8

2шт.

5

231-42410

LOCK NUT,5/8"-11, GB

NUT - hex, self-locking, 5/8 inch NC

4шт.

6

356165A1

SHANK

- leaf

1шт.

7

356366A1

BUSHING

- 19 (3/4) x 29 (1-1/8) x 79 mm (3-3/32 inch)

1шт.

8

356384A1

WASHER

- flat, 25/32 x 1-5/8 x 1/4 inch

2шт.

9

413-1288

BOLT,Hex, 3/4" - 10 x 5-1/2", Gr 5

- hex, 3/4 NC x 5-1/2 inch

1шт.

10

232-42412

LOCK NUT,3/4"-10, GC

NUT - hex lock, 3/4 inch NC

1шт.

11

282042A1

SPRING

- 3-1/2 OD x 17-1/2 inch free height

1шт.

12

282041A1

SLEEVE ASSY

SLEEVE - spring

1шт.

13

282043A1

BUSHING

SPACER - 25 (1) x 17 (21/32) x 18 mm (11/16 inch)

2шт.

14

495-21069

WASHER,5/8"

- flat, 11/16 x 1-3/4 x 9/64 inch

2шт.

15

413-1056

BOLT,Hex, 5/8" - 11 x 3-1/2", Gr 5

1шт.

16

231-42410

LOCK NUT,5/8"-11, GB

NUT - hex, self-locking, 5/8 inch NC

1шт.

17

396-31119

WASHER,1 1/4" x 2 1/4" x 1/4", HDN

- flat, 1-1/4 x 2-1/4 x 1/4 inch, hardened

1шт.

18

495-81080

WASHER,1 1/32" x 3" x .240"

- flat, 1-1/32 x 3 x 15/64 inch

1шт.

19

413-1480

BOLT,Hex, 7/8" - 9 x 5", Gr 5

- hex, 7/8 NC x 5 inch

1шт.

Выбрано товаров: 19