Качественные детали и логистика
Оригинальные и аналоговые запчасти с доставкой по России, Казахстану и Беларуси
©2022 PartSell ООО "Система" ИНН 2463123282 ОГРН 1212400004838
Центральный офис: г. Красноярск, Академика Киренского, д.87, пом.4
Телефон: 8 (800) 777-65-74 Email: zakaz@partsell.ru
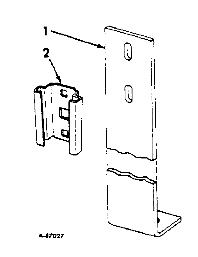
(E-26) - SAFETY LAMP SOCKET UNIT
№
Артикул
Название
Примечание
Количество
1
521996R2
SUPPORT
BRACKET, safety lamp
1шт.
2
363919R1
SOCKET
safety lamp bracket
16879R1
BOLT, 5/16 x 3/4 C-Z sq-nk crg
2шт.
619855R1
WASHER
11/32 x 3/4 x 16 ga C-Z
80681
LOCK WASHER,5/16"
WASHER, LOCK, 5/16"
120376
NUT,5/16"-18, G5
Выбрано товаров: 0