Запчасти Case IH 700 (8-03) - HYDRAULIC CYLINDER, 5 X 8 INCH (08) - HYDRAULICS

Схема запчастей Case IH 700 - (8-03) - HYDRAULIC CYLINDER, 5 X 8 INCH (08) - HYDRAULICS
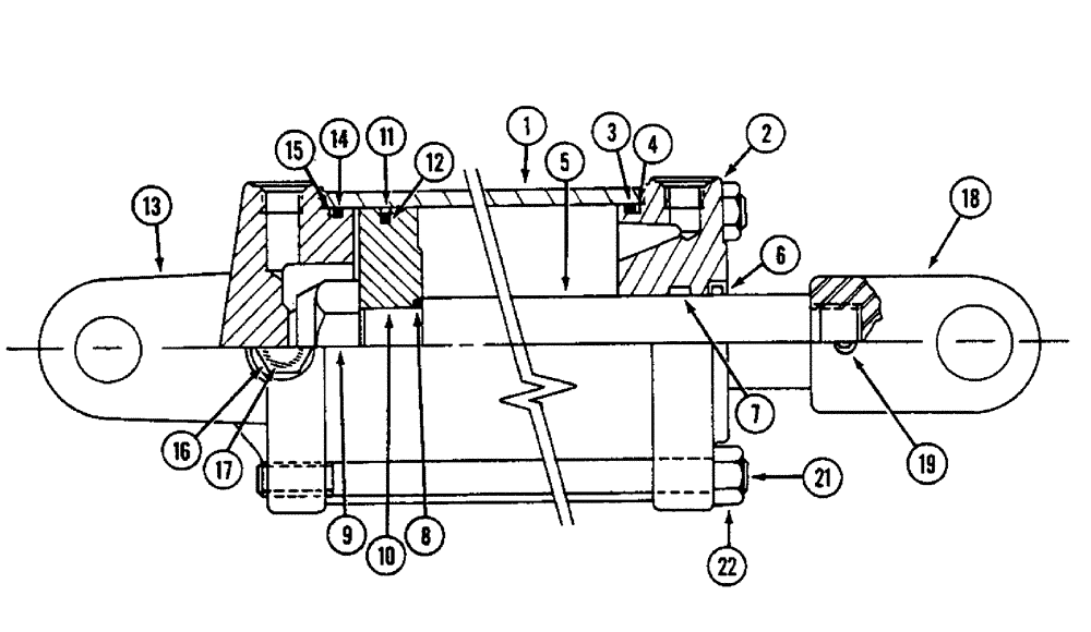
3
19
11
4
22
16
8
21
17
7
6
10
5
15
9
1
2
13
12
18
14
FIT
1:1
100%

Артикул

Название

Примечание

Количество

1343711C1

CYLINDER,Double Acting, 44.45mm Rod, 203.2mm Stroke

ASSEMBLY - hydraulic, 5 x 8 inch, Inc. 1 - 22, (Replaces 388688R96 and 1286450C91)

1шт.

1343711C1R

REMAN-HYD CYLINDER

700 CASE IH HI-CLEARANCE TRAILING MOLDBOARD PLOW, ASSY

1шт.

1343711C1C

REMAN-HYD CYLINDER

Return Number

1шт.

1

NSS

NOT SOLD SEPARAT

TUBE - cylinder

1шт.

2

1286380C1

HEAD

GLAND - cylinder

1шт.

3

NSS

NOT SOLD SEPARAT

O-RING - gland

1шт.

4

NSS

NOT SOLD SEPARAT

RING - backup, gland O-ring

1шт.

5

1343712C1

ROD

- piston

1шт.

6

NSS

NOT SOLD SEPARAT

WIPER - piston rod

1шт.

7

NSS

NOT SOLD SEPARAT

SEAL - U-cup, piston rod

1шт.

8

NSS

NOT SOLD SEPARAT

O-RING - piston, Serial Range: rod-piston

1шт.

9

27137R1

LOCK NUT,1 1/4"-12, GC

NUT - hex, self-locking, 1-1/4 inch NF, Grade 8

1шт.

10

1286382C2

PISTON

- cylinder

1шт.

11

NSS

NOT SOLD SEPARAT

SEAL - piston

1шт.

12

NSS

NOT SOLD SEPARAT

O-RING - backup, piston seal

1шт.

13

1286381C1

HEAD

- cylinder, closed end

1шт.

14

NSS

NOT SOLD SEPARAT

O-RING - cylinder head

1шт.

15

NSS

NOT SOLD SEPARAT

RING - backup, cylinder head O-ring

1шт.

16

214389

PLUG,3/4" - 16 ORB

1шт.

17

NSS

NOT SOLD SEPARAT

O-RING - plug

1шт.

18

1343713C1

CLEVIS,1 -1/2" - 12

- rod

1шт.

19

483-1386

SET SCREW,Hex Soc, 3/8"-16 x 3/8"

SCREW - set, hex socket headless, 3/8 NC x 3/8 inch, cup pt

1шт.

145453C1

PLUG,Lock, 7.938mm Dia x 3.175mm Thk, Nylon

PAD - insert (Not shown)

1шт.

21

1286385C1

TIE-ROD,3/4" - 10 x 13.81"

BOLT - tie, cylinder

4шт.

22

425-1012

NUT,3/4"-10, G5

4шт.

85125C2

SEAL KIT

KIT - seal, Inc. 3, 4, 6, 7, 8, 11, 12, 14, 15, 17

1шт.

Выбрано товаров: 26