Запчасти Case IH 700-SERIES (08) - LAND AXLE AND WHEEL

Схема запчастей Case IH 700-SERIES - (08) - LAND AXLE AND WHEEL
39
40
44
13
6
9
16
31
23
33
15
19
4
47
22
43
18
8
28
48
3
51
32
49
34
27
17
50
14
41
26
29
36
10
12
21
24
35
1
46
25
37
7
11
2
48
3
38
18
42
45
5
20
FIT
1:1
100%

Артикул

Название

Примечание

Количество

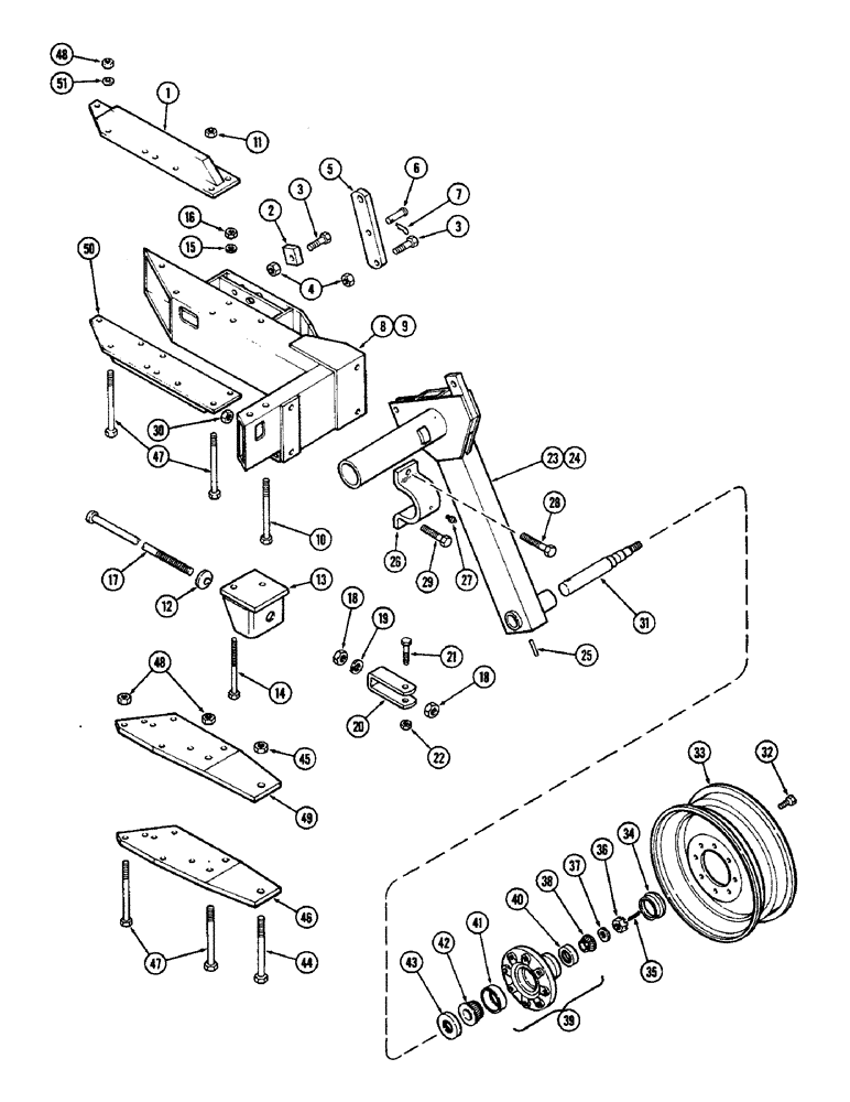
1

T55377

PLATE - top

1шт.

2

T55383

BLOCK - stop

1шт.

3

114-716

BOLT,Hex, 3/4" - 16 x 2-3/4", Gr 5

- 3/4 x 2-3/4" NF hex (Grade 5)

2шт.

4

131-690

LOCK NUT,3/4"-16, GB

NUT - lock 3/4" NF hex

2шт.

5

T55382

ARM - cylinder

1шт.

6

W10656S

PIN - drilled 3/4 x 2-3/4"

1шт.

7

B17308

CLIP

COTTER

1шт.

8

T55379

FRAME

1шт.

9

T56561

FRAME

- (T55379 can also be used)

1шт.

10

113-784

BOLT,Hex, 3/4" - 10 x 10", Gr 5

- 3/4 x 10" NC hex (Grade 5)

2шт.

11

131-1131

LOCK NUT,3/4"-10, GA

NUT - lock 3/4" NC hex

2шт.

12

T56563

WASHER - (Nine and ten bottom plows)

1шт.

13

T56566

SUPPORT - rod (Nine and ten bottom plows)

1шт.

14

113-2621

BOLT,Hex, 5/8" - 11 x 9-1/2", Gr 5

- 5/8 x 9-1/2" NC hex (Grade 5)

2шт.

15

192-25

LOCK WASHER,5/8"

WASHER, LOCK, 5/8"

2шт.

16

129-107

NUT,5/8"-11, G5

2шт.

17

T56564

ROD - (Nine and ten bottom plows)

1шт.

18

129-111

NUT,1 1/8"-7, G5

- 1-1/8" NC hex

2шт.

19

192-173

WASHER - lock 1-1/8"

1шт.

20

T56565

CLEVIS - rod (Nine and ten bottom plows)

1шт.

21

14-1656

BOLT - 1 x 3-1/2" NF hex (Grade 5)

1шт.

22

131-692

NUT - lock 1" NF hex

1шт.

23

T55385

AXLE

- land

1шт.

24

T55839

AXLE

- land (T55385 can also be used)

1шт.

25

138-182

LOCK PIN,3/8" x 3", Slotted

PIN, 3/8" x 3", Slotted

1шт.

26

T55389

BEARING

- pipe

2шт.

27

219-31

LUBE NIPPLE,30 Degree Elbow, 1/8" - 27 NPTF

FITTING - grease 1/8" x 30 degrees

2шт.

28

114-723

BOLT,Hex, 3/4" - 16 x 5", Gr 5

- 3/4 x 5" NF hex (Grade 5)

2шт.

29

114-720

BOLT,Hex, 3/4" - 16 x 4", Gr 5

- 3/4 x 4" NF hex (Grade 5)

2шт.

30

131-690

LOCK NUT,3/4"-16, GB

NUT - lock 3/4" NF hex

4шт.

31

T55394

SPINDLE

1шт.

32

T52730

WHEEL BOLT

BOLT - wheel

8шт.

33

T32996

WHEEL

- 20"

1шт.

34

A61450

BEARING CAP,3.155" ID x 3.41" OD x 1.38"

CAP - hub

1шт.

35

132-311

COTTER PIN,5/32" x 1 1/4"

5/32" x 1 1/4"

1шт.

36

425-1314

SLOTTED NUT,7/8"-14, G5

NUT - 7/8" NF hex slotted

1шт.

37

T54256

WASHER

- bearing

1шт.

38

A29465

ROLLER BEARING,34.938 mm ID x 24.684 mm

CONE - bearing outer 1-3/8" ID (34.9 MM)

1шт.

39

T39692

BEARING

ASSEMBLY - with cups

1шт.

40

A30580

BEARING CUP

CUP - bearing outer 2-7/8" OD (73.0 MM)

1шт.

41

A29062

ROLLER BEARING,82.956 mm OD x 19.101 mm

CUP - bearing inner 3-1/4" OD (82.6 MM)

1шт.

42

T33023

ROLLER BEARING

CONE - bearing inner 1-13/16" ID (46.0 MM)

1шт.

43

F37383

SEAL

- grease

1шт.

44

113-935

BOLT,Hex, 1" - 8 x 10-1/2", Gr 5

- 1 x 10-1/2" NC hex (Grade 5)

1шт.

45

131-1194

LOCK NUT,1 1/4"-12, GA

NUT - lock 1" NC hex

1шт.

46

T55381

PLATE - drawbar lower

1шт.

47

116-602

BOLT,Hex, 5/8" - 18 x 10-1/4", Gr 8

- 5/8 x 10-1/4 NF hex (Grade 8)

11шт.

48

131-1250

NUT - lock 5/8" NF hex

11шт.

49

T55380

PLATE - drawbar upper

1шт.

50

T55378

PLATE - bottom

1шт.

51

T54187

WASHER - 1-1/2 x 11/16 x 1/4"

2шт.

Выбрано товаров: 51