Запчасти Case IH 700-SERIES (12) - BEAM, SPRING AUTOMATIC RESET

Схема запчастей Case IH 700-SERIES - (12) - BEAM, SPRING AUTOMATIC RESET
13
9
7
19
3
14
8
20
18
4
6
21
2
15
5
1
12
FIT
1:1
100%

Артикул

Название

Примечание

Количество

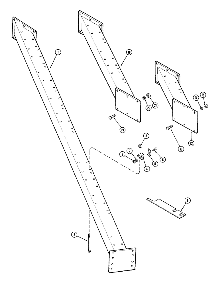
1

T54102

BEAM - six bottom

1шт.

2

116-602

BOLT,Hex, 5/8" - 18 x 10-1/4", Gr 8

- 5/8 x 10-1/4" NF hex (Grade 8)

24шт.

3

131-1250

NUT - lock 5/8" NF hex

24шт.

4

T54124

HANGER - pipe

2шт.

5

T54125

CLAMP - pipe hanger

2шт.

6

113-219

BOLT,Hex, 3/8" - 16 x 2", Gr 5

2шт.

7

192-21

LOCK WASHER,3/8"

WASHER, LOCK, 3/8"

2шт.

8

129-103

NUT,Hex, 3/8" - 16, Gr 5

NUT, 3/8"-16, G5

2шт.

9

T54128

SHIM - beam

4шт.

12

T54103

EXTENSION - beam BEAM EXTENSION ONE BOTTOM

1шт.

13

113-712

BOLT,Hex, 3/4" - 10 x 2-1/4", Gr 5

Beam extension one bottom Hex, 3/4"-10 x 2 1/4", G5

6шт.

14

192-27

LOCK WASHER,3/4"

WASHER, LOCK, , Beam extension one bottom 3/4"

6шт.

15

129-108

NUT,3/4"-10, G5

Beam extension, One bottom 3/4"-10, G5

6шт.

18

T55349

EXTENSION - beam TWO BOTTOM

1шт.

19

113-712

BOLT,Hex, 3/4" - 10 x 2-1/4", Gr 5

Two bottom Hex, 3/4"-10 x 2 1/4", G5

12шт.

20

192-27

LOCK WASHER,3/4"

WASHER, LOCK, , Two bottom 3/4"

12шт.

21

129-108

NUT,3/4"-10, G5

Two bottom 3/4"-10, G5

12шт.

Выбрано товаров: 17