Запчасти Case IH 720 (9-40) - COLTER ATTACHING PARTS (09) - CHASSIS/ATTACHMENTS

Схема запчастей Case IH 720 - (9-40) - COLTER ATTACHING PARTS (09) - CHASSIS/ATTACHMENTS
FIT
1:1
100%

Артикул

Название

Примечание

Количество

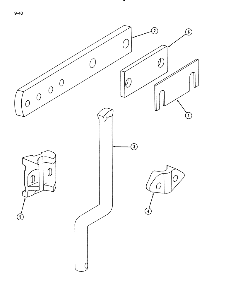
1

122507C1

BAR

SHIM - beam spacer

1шт.

2

60985C1

RAIL

BAR - colter

1шт.

2

122969C1

RAIL

BAR - special colter (5th beam only on 7 furrow 16 inch)

1шт.

413-1244

BOLT,Hex, 3/4" - 10 x 2-3/4", Gr 5

- hex, 3/4 NC x 2-3/4 inch

1шт.

413-1256

BOLT,Hex, 3/4" - 10 x 3-1/2", Gr 5

1шт.

131-1131

LOCK NUT,3/4"-10, GA

NUT - hex lock, 3/4 inch NC

2шт.

3

488792R1

SHANK

- colter

1шт.

432-2036

COTTER PIN,5/16" x 2 1/4"

Pin, Split (Cotter), 5/16" x 2 1/4"

1шт.

4

524492R1

CLAMP

CAP - rear colter clamp

1шт.

413-1072

BOLT,Hex, 5/8" - 11 x 4-1/2", Gr 5

2шт.

425-1010

NUT,5/8"-11, G5

2шт.

5

524456R3

CLAMP

- rear colter

1шт.

6

482777R1

BAR

- beam spacer

1шт.

Выбрано товаров: 13