Запчасти Case IH 720 (9-48) - FRONT FURROW WHEEL, FOR 5 THRU 8 FURROW, ON THE LAND, CONTINUED (09) - CHASSIS/ATTACHMENTS

Схема запчастей Case IH 720 - (9-48) - FRONT FURROW WHEEL, FOR 5 THRU 8 FURROW, ON THE LAND, CONTINUED (09) - CHASSIS/ATTACHMENTS
FIT
1:1
100%

Артикул

Название

Примечание

Количество

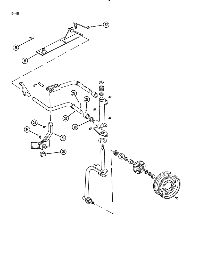
23

543252R3

SUPPORT

ASSEMBLY - axle

1шт.

413-1064

BOLT,Hex, 5/8" - 11 x 4", Gr 5

- hex, 5/8 NC x 4 inch

1шт.

413-1044

BOLT,Hex, 5/8" - 11 x 2-3/4", Gr 5

- hex, 5/8 NC x 2-3/4 inch

2шт.

495-21069

WASHER,5/8"

- flat, 11/16 x 1-3/4 x 9/64 inch

1шт.

492-11062

BEARING WASHER,5/8"

WASHER, LOCK, 5/8"

2шт.

473211R1

LOCK NUT,5/8"-11, GB

NUT - hex lock, 5/8 inch NC

1шт.

425-1010

NUT,5/8"-11, G5

2шт.

24

219-87

LUBE NIPPLE,1/4" - 28 NPTF

NIPPLE, LUBE, 1/4"-28 x .56" lg, Self-Tap

2шт.

25

482872R1

CAP

BEARING - outer block

1шт.

26

543261R1

SCREW

- cylinder thumb

1шт.

27

488438R1

SPACER

- front lift axle

1шт.

27

547216R1

SPACER

- axle

1шт.

28

482877R1

PIN

- front axle

2шт.

432-816

COTTER PIN,1/8" x 1"

1/8" x 1"

4шт.

29

482876R1

WASHER

- front lift

6шт.

29

482876R1

WASHER

- front lift (6 furrow 20 inch, 7 and 8 furrow)

7шт.

432-2448

COTTER PIN,3/8" x 3"

Pin, Split (Cotter), 3/8" x 3"

1шт.

30

543258R1

AXLE

ASSEMBLY - front furrow (For 5 furrow 18 inch and 6 furrow 16 and 18 inch)

1шт.

30

547214R1

AXLE

ASSEMBLY - front furrow (For 7 and 8 furrow)

1шт.

30

122632C1

AXLE

ASSEMBLY - front furrow (6 furrow 20 inch)

1шт.

31

543262R1

BEARING ASSY

ASSEMBLY - axle

1шт.

219-87

LUBE NIPPLE,1/4" - 28 NPTF

NIPPLE, LUBE, 1/4"-28 x .56" lg, Self-Tap

1шт.

424-12120

BOLT,Hex, 3/4" - 10 x 7-1/2", Gr 2

- hex, 3/4 NC x 7-1/2 inch, Grade 2

1шт.

22841R1

BOLT,Hex, 3/4"-10 x 8", G2

- hex, 3/4 NC x 8 inch

2шт.

131-1131

LOCK NUT,3/4"-10, GA

NUT - hex lock, 3/4 inch NC

3шт.

32

543221R1

SUPPORT

- hose

1шт.

495-81255

WASHER,0.78" ID x 1.5" OD x 0.18" Thk

- flat, 25/32 x 1-1/2 x 5/32 inch

2шт.

131947C1

SUPPORT

CLIP - reflector mounting

1шт.

Выбрано товаров: 28