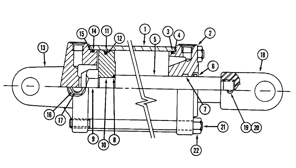
Запчасти Case IH 800 (8-05) - CENTER HYDRAULIC CYLINDER, 5 X 8 INCH (08) - HYDRAULICS

Схема запчастей Case IH 800 - (8-05) - CENTER HYDRAULIC CYLINDER, 5 X 8 INCH (08) - HYDRAULICS
10
15
9
8
14
7
3
18
5
17
22
11
12
13
21
20
4
6
16
1
2
19
FIT
1:1
100%

Артикул

Название

Примечание

Количество

1343711C1

CYLINDER,Double Acting, 44.45mm Rod, 203.2mm Stroke

ASSEMBLY - hydraulic, 5 x 8 inch, Inc. REF 1 -22 (Replaces 1286450C91, See Figure 8-06)

1шт.

1343711C1R

REMAN-HYD CYLINDER

800 CASE IH MOLDBOARD PLOW, ASSY, hydraulic

1шт.

1343711C1C

REMAN-HYD CYLINDER

Return Number

1шт.

1

NSS

NOT SOLD SEPARAT

TUBE - cylinder

1шт.

2

1286380C1

HEAD

- cylinder, front

1шт.

3

NSS

NOT SOLD SEPARAT

O-RING - gland

1шт.

4

NSS

NOT SOLD SEPARAT

RING - backup, gland O-ring

1шт.

5

1343712C1

ROD

- piston, 1-3/4 inch OD

1шт.

6

NSS

NOT SOLD SEPARAT

WIPER - piston rod

1шт.

7

NSS

NOT SOLD SEPARAT

SEAL - U-cup, piston rod

1шт.

8

NSS

NOT SOLD SEPARAT

O-RING - piston, Serial Range: rod-piston

1шт.

9

27137R1

LOCK NUT,1 1/4"-12, GC

NUT - hex lock, 1-1/4 inch NF, Grade 8

1шт.

10

1286382C2

PISTON

- cylinder

1шт.

11

NSS

NOT SOLD SEPARAT

SEAL - piston

1шт.

12

NSS

NOT SOLD SEPARAT

O-RING - backup, piston seal

1шт.

13

1286381C1

HEAD

- cylinder, rear

1шт.

14

NSS

NOT SOLD SEPARAT

O-RING - cylinder head

1шт.

15

NSS

NOT SOLD SEPARAT

RING - backup, cylinder head O-ring

1шт.

16

214389

PLUG,3/4" - 16 ORB

1шт.

17

NSS

NOT SOLD SEPARAT

O-RING - plug

1шт.

18

1343713C1

CLEVIS,1 -1/2" - 12

- rod

1шт.

19

483-1386

SET SCREW,Hex Soc, 3/8"-16 x 3/8"

SCREW - set, hex socket headless, 3/8 NC x 3/8 inch, cup pt

1шт.

20

145453C1

PLUG,Lock, 7.938mm Dia x 3.175mm Thk, Nylon

PAD - insert

1шт.

21

1286385C1

TIE-ROD,3/4" - 10 x 13.81"

ROD - cylinder retaining

4шт.

22

425-1012

NUT,3/4"-10, G5

4шт.

85125C2

SEAL KIT

KIT - seal and O-ring, Inc. REF 3, 4, 5 - 8, 11, 12, 14, 15 and 17

1шт.

Выбрано товаров: 26