Запчасти Case IH 8300-SERIES (22) - FRAME, SEVEN AND EIGHT BOTTOM

Схема запчастей Case IH 8300-SERIES - (22) - FRAME, SEVEN AND EIGHT BOTTOM
FIT
1:1
100%

Артикул

Название

Примечание

Количество

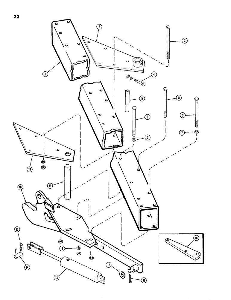
1

T52604

TUBE,258.63" L

- main (Qty: 7 Btm.-1)

1шт.

1

T52605

TUBE - main (Qty: 8 Btm.-1) 295.38" L

1шт.

2

T52331

PIVOT - top (All Btm.)

1шт.

3

115-512

BOLT

- 5/8" x 10" N.C. hex., Z.P. (Qty: 7 Btm.-17, 8 Btm.-19)

1шт.

192-25

LOCK WASHER,5/8"

WASHER, LOCK, (Qty: 7 Btm.-17, 8 Btm.-19) 5/8"

1шт.

129-107

NUT,5/8"-11, G5

(Qty: 7 Btm.-17, 8 Btm.-19) 5/8"-11, G5

1шт.

4

113-447

BOLT,Hex, 1/2" - 13 x 3-1/2", Gr 5

(All Btm.) Hex, 1/2"-13 x 3 1/2", G5

1шт.

192-23

LOCK WASHER,1/2"

WASHER, LOCK, (All Btm.) 1/2"

1шт.

129-105

NUT,Hex, 1/2" - 13, Gr 5

(All Btm.) 1/2"-13, G5

1шт.

5

T52606

SUPPORT - pivot plates (All Btm.)

1шт.

6

115-514

BOLT - 5/8" x 10-1/2" N.C. hex., Z.P. (All Btm.)

1шт.

131-1219

LOCK NUT,5/8"-11, GC

NUT, LOCK, (All Btm.) 5/8"-11, GC

1шт.

7

T53567

BEARING WASHER,16.66mm ID x 33.33mm OD x 3.43mm Thk

WASHER - 1-5/16" x 21/32" x 10 ga., H.T., Z.P. (Qty: 7 Btm.-26, 8 Btm.-30)

1шт.

8

115-517

BOLT,Hex, 5/8" - 11 x 11", Gr 5

- 5/8" x 11", Gr. 8, Z.P. (1st bottom only) (All Btm.)

2шт.

8

115-516

BOLT,Hex, 5/8" - 11 x 10-1/2", Gr 8

- 5/8" x 10-1/2" Gr. 8, Z.P. (other positions) (Qty: 7 Btm.-11, 8 Btm.-13)

1шт.

131-1219

LOCK NUT,5/8"-11, GC

NUT, LOCK, (Qty: 7 Btm.-26, 8 Btm.-30) 5/8"-11, GC

1шт.

9

T53682

WASHER - 1-7/8" x 21/32" x 1/4", H.T., Z.P. (Qty: 7 Btm.-13, 8 Btm.-15)

1шт.

10

T53570

BEAM - frame (Repl. T52634 inter.) (7 Btm.-7, 8 Btm.-8)

1шт.

11

132-317

COTTER PIN,3/16" x 2"

PIN, SPLIT (COTTER), (7 Btm.-7, 8 Btm.-8) 3/16" x 2"

1шт.

12

195-553

WASHER,1", SAE

- 2" x 1-1/16" x 10 ga., Z.P. (7 Btm.-7, 8 Btm.-8)

1шт.

13

T51518

CYLINDER

- reset (See Page 35) (7 Btm-7, 8 Btm.-8)

1шт.

14

T39725

PIN - ram, 1" x 2-1/2" (7 Btm.-7, 8 Btm.-8)

1шт.

132-349

COTTER PIN,1/4" x 1 1/2"

PIN, Split (Cotter), 1/4" x 1-1/2" (7 Btm.-7, 8 Btm.-8)

1шт.

15

T20588

PIN, SPLIT (COTTER)

COTTER - hairpin (7 Btm.-7, 8 Btm.-8)

1шт.

16

T52336

PIN - hinge (All Btm.)

1шт.

17

T52334

PIVOT - bottom (All Btm.)

1шт.

18

T52663

ANCHOR - cylinder, sidehill

1шт.

Выбрано товаров: 27