Запчасти Case IH 9000 SERIES (75.200.07) - INNER SPRING LOADED COLTER (75) - SOIL PREPARATION

Схема запчастей Case IH 9000 SERIES - (75.200.07) - INNER SPRING LOADED COLTER (75) - SOIL PREPARATION
4
6
34
15
31
41
44
43
15
35
41
32
13
16
32
33
10
42
3
42
36
30
12
45
37
8
39
14
2
40
9
38
40
7
5
FIT
1:1
100%

Артикул

Название

Примечание

Количество

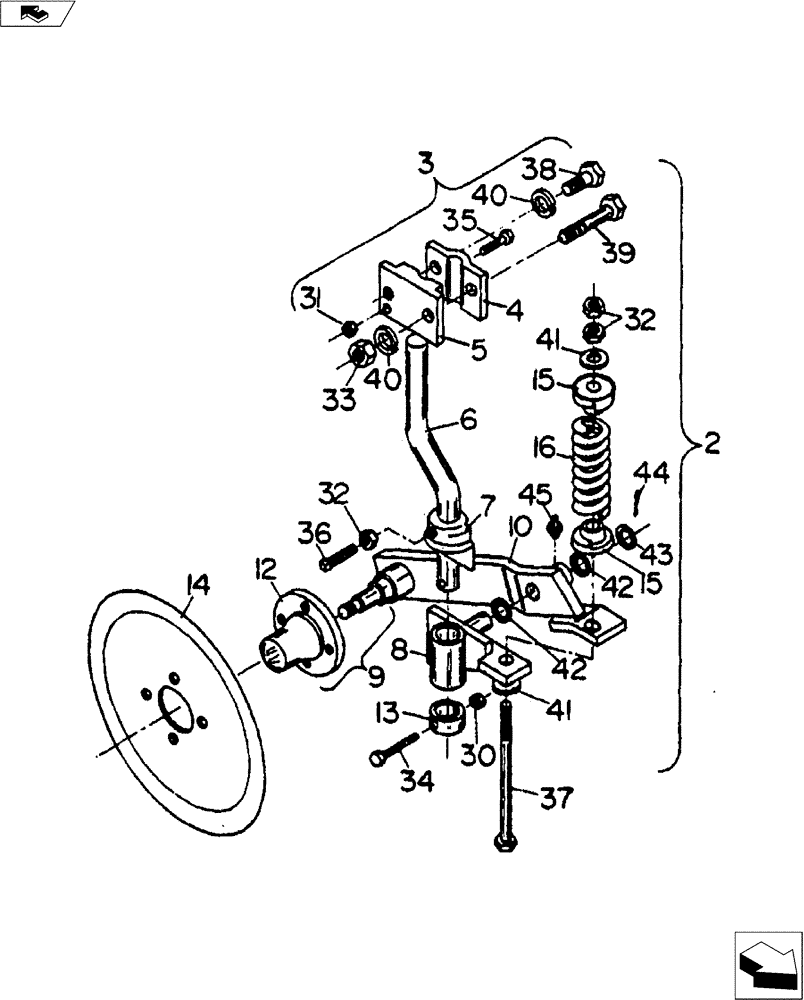
1

49324001

Comp. (Not Shown)

1шт.

2

49324000

I/Blade

1шт.

3

49526000

Includes Ref. 4, 5, & Hardware

1шт.

4

49564000

1шт.

5

20092021

CASTING

Coulter Clamp

1шт.

6

49571000

17-1/2" Lg., Std

1шт.

6

49572000

19-1/2" Lg., Opt

1шт.

7

49348000

COULTER

Pivot Stop

1шт.

8

49325000

MOUNTING PARTS

Upper

1шт.

9

49326000

SUPPORTING ARM

1шт.

10

49333000

SUPPORTING ARM

I/Hub

1шт.

11

49335000

CHOPPER BODY ASSY

Inner Spring Loaded Coulter Mounting, Includes Ref. 8,9, & Hardware (Not Shown)

1шт.

12

28163300

HUB ASSY.

Q-633 4-Bolt

1шт.

13

49529000

PIPE

Coulter Bottom Collar

1шт.

14

443638A1

PLOW DISC

24" Coulter Blade, Std

1шт.

14

33502040

20", Opt.

1шт.

14

33502041

20", Opt.

1шт.

15

20090050

HOLDER

Spring Casting

2шт.

16

24156201

COMPRESSION SPRING

1шт.

30

NSS

NOT SOLD SEPARAT

3/8" NC Hex. Nut

1шт.

31

NSS

NOT SOLD SEPARAT

7/16" NC Hex. Nut

1шт.

32

NSS

NOT SOLD SEPARAT

5/8" NC Jam Nut

3шт.

33

NSS

NOT SOLD SEPARAT

3/4" NC Jam Nut

1шт.

34

NSS

NOT SOLD SEPARAT

3/8" x 3" NC Hex. Bolt

1шт.

35

16007104

BOLT

7/16" x 2-1/2" NC Hex., Gd 5

1шт.

36

16810064

SET SCREW

5/8" x 1-1/2" Sq. Hd

1шт.

37

NSS

NOT SOLD SEPARAT

5/8" x 12" NC Hex. Bolt

1шт.

38

NSS

NOT SOLD SEPARAT

3/4" x 2" NC Hex. Bolt

1шт.

39

NSS

NOT SOLD SEPARAT

3/4" x 5" NC Hex. Bolt, Gd 5

1шт.

40

NSS

NOT SOLD SEPARAT

3/4" Lock Washer

2шт.

41

17411012

WASHER

21/32" ID x 1-3/4" OD .240 Th.

2шт.

42

17620020

BUSHING,32.15mm ID x 47.63mm OD x 2.08mm L

1-1/4" Machinery, 14 Ga.

1шт.

43

17620030

WASHER,32.15mm ID x 47.63mm OD x 10mm Thk

1-1/4" Machinery, 10 Ga.

1шт.

44

NSS

NOT SOLD SEPARAT

1/4" x 1-1/2" Cotter Pin

1шт.

45

NSS

NOT SOLD SEPARAT

1/8" NPT Grease Zerk

1шт.

Выбрано товаров: 35