Запчасти Case IH CASE (090) - EXC 14L AND 16L EAGLE BOTTOM, PER BOTTOM 14 INCH AND 16 INCH

Схема запчастей Case IH CASE - (090) - EXC 14L AND 16L EAGLE BOTTOM, PER BOTTOM 14 INCH AND 16 INCH
FIT
1:1
100%

Артикул

Название

Примечание

Количество

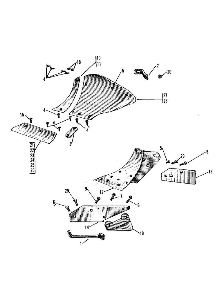
1

T11759

BRACE - landside to moldboard (Rear btm. only)

1шт.

T27360

BOLT

- plow, 3/8" x 1-3/4" P#3 SAE grade 5 w/rep. hd. & N.C. hex nut

1шт.

2

T18018

BRACE

- moldboard

1шт.

3

T19441

STRAP

- moldboard

1шт.

95-6

WASHER,3/8"

- 1" x 7/16" x #14 ga.

1шт.

4

T19469

BOLT

- plow, 3/8" x 1-1/8" P#3 SAE grade 5 w/rep. hd. & N.C. hex nut

10шт.

5

T19471

PLOW BOLT

BOLT - plow, 3/8" x 1-1/4" P#3 SAE grade 5 w/rep. hd. & N.C. hex nut

2шт.

6

T19473

PLOW BOLT

BOLT - plow, 3/8" x 1-1/2" P#3 SAE grade 5 w/rep. hd. & N.C. hex nut

2шт.

7

T19475

BOLT

- plow, 3/8" x 2" P#3 SAE grade 5 w/rep. hd. & N.C. hex nut

1шт.

8

T19482

PLOW BOLT

BOLT - plow, 1/2" x 2-1/2" P#3 SAE grade 5 w/rep. hd. & N.C. hex nut

1шт.

9

T19483

PLOW BOLT

BOLT - plow, 1/2" x 3" P#3 SAE grade 5 w/rep. hd. & N.C. hex nut

1шт.

10

T61986

SHIN PIECE - moldboard (Per btm. 14")

1шт.

T19469

BOLT

- plow, 3/8" x 1-1/8" P#3 SAE grade 5 w/rep. hd. & N.C. hex nut (Per btm. 14"

2шт.

11

T61988

SHIN

PIECE - moldboard (Per btm. 16")

1шт.

T19469

BOLT

- plow, 3/8" x 1-1/8" P#3 SAE grade 5 w/rep. hd. & N.C. hex nut (Per btm. 16")

2шт.

12

T26958

FROG

1шт.

13-836

BOLT,Hex, 1/2" - 13 x 2-1/4", Gr 5

- 1/2" x 2-1/4" N.C. hex

1шт.

92-8

LOCK WASHER,1/2"

1шт.

25-108

NUT,1/2"-13, G5

- 1/2" N.C. hex

1шт.

13-1048

BOLT,Hex, 5/8" - 11 x 3", Gr 5

1шт.

92-10

LOCK WASHER,5/8"

WASHER, LOCK, 5/8"

1шт.

25-1010

NUT,5/8"-11, G5

1шт.

13

T26992

LANDSIDE

- 4" x 3/8" x 11"

1шт.

T19471

PLOW BOLT

BOLT - plow, 3/8" x 1-1/4" P#3 SAE grade 5 w/rep. hd. & N.C. hex nut

1шт.

T19483

PLOW BOLT

BOLT - plow, 1/2" x 3" P#3 SAE grade 5 w/rep. hd. & N.C. hex nut

1шт.

T19482

PLOW BOLT

BOLT - plow, 1/2" x 2-1/2" P#3 SAE grade 5 w/rep. hd. & N.C. hex nut

1шт.

14

T62014

LANDSIDE

- 4" x 1/2" x 20" rear bottom only

1шт.

T19471

PLOW BOLT

BOLT - plow, 3/8" x 1-1/4" P#3 SAE grade 5 w/rep. hd. & N.C. hex nut

1шт.

T19473

PLOW BOLT

BOLT - plow, 3/8" x 1-1/2" P#3 SAE grade 5 w/rep. hd. & N.C. hex nut

2шт.

T19482

PLOW BOLT

BOLT - plow, 1/2" x 2-1/2" P#3 SAE grade 5 w/rep. hd. & N.C. hex nut

1шт.

T27361

BOLT

- plow, 5/8" x 2-1/2" P#3 SAE grade 5 w/rep. hd. & N.C. hex nut

1шт.

15

T27359

BOLT

- plow, 1/2" x 1-1/8" P#3 SAE grade 5 w/rep. hd. & N.C. hex nut

1шт.

18

H1521S

BUSHING

SPACER - moldboard extension

2шт.

19

W1711

HEEL

PLATE - rear bottom only

1шт.

20

W10579S

WASHER - serrated

1шт.

Выбрано товаров: 35