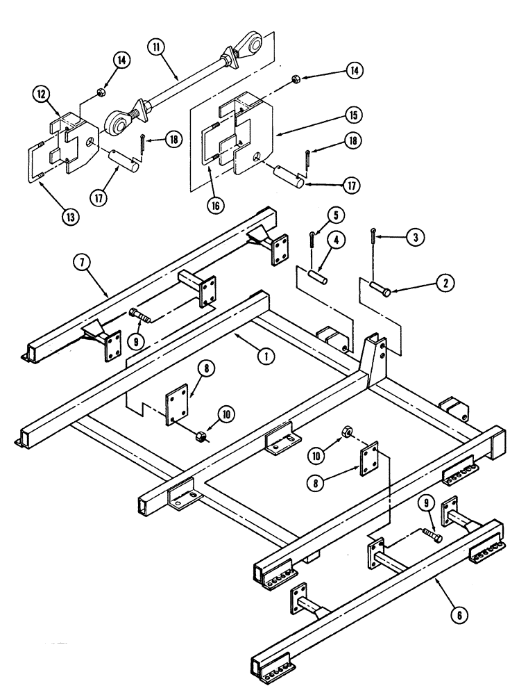
Запчасти Case IH 6800 (9-20) - DISK MAIN FRAME AND STABILIZER (09) - CHASSIS/ATTACHMENTS

Схема запчастей Case IH 6800 - (9-20) - DISK MAIN FRAME AND STABILIZER (09) - CHASSIS/ATTACHMENTS
18
15
6
9
13
7
10
17
5
16
8
14
11
18
17
14
9
3
10
8
1
4
2
12
FIT
1:1
100%

Артикул

Название

Примечание

Количество

1

135581A2

CHASSIS

FRAME main, disk

1шт.

2

112680C2

PIN

1-1/4 x 5-39/64 inch

1шт.

3

432-1632

COTTER PIN,1/4" x 2"

1/4" x 2"

2шт.

4

140563A1

HITCH PIN

frame mounting

2шт.

5

432-2032

COTTER PIN,5/16" x 2"

5/16" x 2"

2шт.

6

193856A1

CHASSIS

FRAME extension 18 foot models, only right hand

1шт.

7

194391A1

CHASSIS

FRAME extension 18 foot models, only left hand

1шт.

8

193844A1

LARGE PLATE

PLATE, LARGE frame extension 18 foot

6шт.

9

426-12104

BOLT,Hex, 3/4" - 10 x 6-1/2", Gr 8

hex, 3/4 NC x 6-1/2 inch, grade 8

24шт.

10

232-41112

NUT,3/4"-10, GC

24шт.

11

220308A1

ARM

LINK adjustable, disk stabilizer

1шт.

12

199769A1

SUPPORT

BRACKET disc

1шт.

13

199768A1

U-BOLT

BOLT "U" disc bracket

1шт.

14

231-41412

NUT,3/4"-10, GB

hex, self locking 3/4 inch NC

4шт.

15

199770A1

SUPPORT

BRACKET cart

1шт.

16

199767A1

U-BOLT

BOLT "U" cart bracket

1шт.

17

427-16325

CLEVIS PIN,25.4mm OD x 82.55mm L

clevis, 1 x 3-1/4 inch, hardened

2шт.

18

432-1228

COTTER PIN,3/16" x 1 3/4"

4шт.

Выбрано товаров: 18