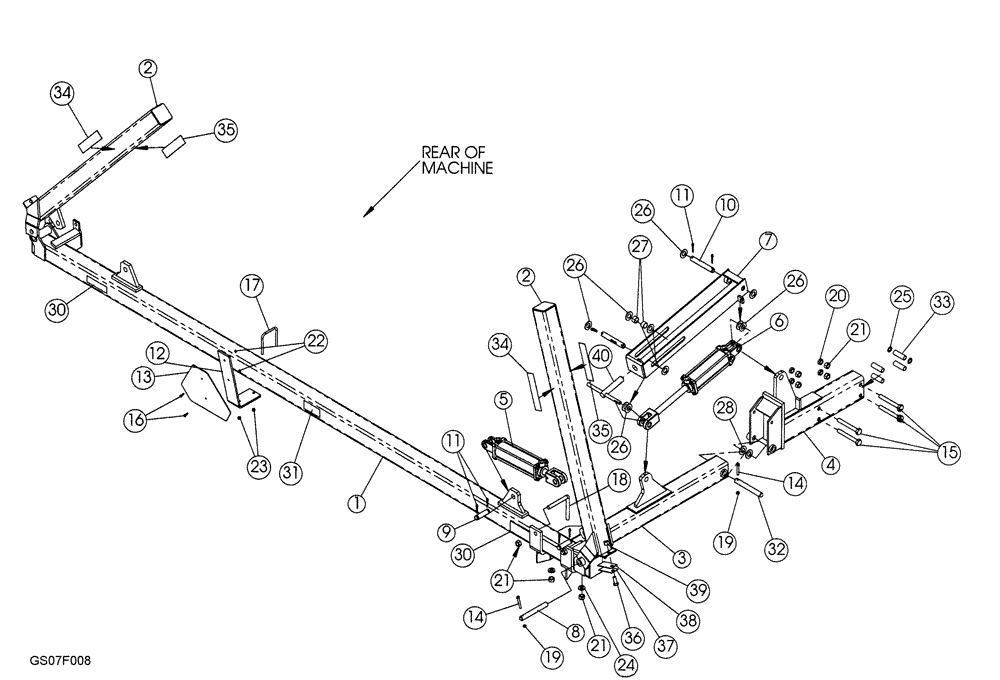
Запчасти Case IH 9300 (75.200.11) - HYDRAULIC LEVELER BAR (09) - CHASSIS/ATTACHMENTS

Схема запчастей Case IH 9300 - (75.200.11) - HYDRAULIC LEVELER BAR (09) - CHASSIS/ATTACHMENTS
27
6
8
40
16
9
23
30
22
35
30
2
19
24
25
26
2
1
13
3
36
2
17
19
11
15
5
28
7
21
26
38
18
34
35
10
14
31
11
3
21
33
34
14
4
26
12
37
26
32
0
FIT
1:1
100%

Артикул

Название

Примечание

Количество

1

09102540

BAR ASSY.

Hydraulic Leveler, 9300 And 730B

1шт.

2

09102550

BAR ASSY.

Leveler, Rh, 9300

1шт.

2

09102560

BAR ASSY.

Leveler, Lh, 9300

1шт.

3

09102985

ARM ASSY.

2шт.

4

09967620

BRACKET

Support Arm

2шт.

5

25330101

HYDRAULIC CYLINDER,Double Acting, 31.75mm Rod, 254mm Stroke

3 x 10, 3000 P.S.I.

2шт.

5

25330101R

REMAN-HYD CYLINDER

9300 ECOLO-TIGER DISK RIPPER, 3000 P.S.I.

2шт.

5

25330101C

CORE-HYD CYLINDER

Return Number

2шт.

6

25330083

CYLINDER ASSY.

3 x 8, With Stop, 3000 P.S.I.

2шт.

7

87550891

STOP

2шт.

8

14891661

SPECIAL PIN,25.4mm OD x 204.7mm L

1, Dia

2шт.

9

25890100

KIT

Bag of Parts

1шт.

10

14891663

HITCH PIN

1, Dia

4шт.

11

432-1624

COTTER PIN,1/4" x 1 1/2"

16шт.

12

09102570

PRODUCT GRAPHIC

SMV

1шт.

13

311860A1

EMBLEM

SMV

1шт.

14

413-640

BOLT,Hex, 3/8" - 16 x 2-1/2", Gr 5

8шт.

15

413-1296

BOLT,Hex, 3/4" - 10 x 6", Gr 5

8шт.

16

413-412

BOLT,Hex, 1/4" - 20 x 3/4", Gr 5

2шт.

17

16309091

U-BOLT,3/8" - 16, Square, 4" W x 5" L

BOLT "U" 3/8 x 4 x 4.9

1шт.

18

87427192

SPECIAL BOLT

3/4 x 5.69

4шт.

19

425-106

NUT,3/8"-16, Cl 5

8шт.

20

425-1412

JAM NUT,Jam, 3/4"-10, G5

Hex

8шт.

21

425-1012

NUT,3/4"-10, G5

16шт.

22

86992211

NUT

1/4, NC, Hex

2шт.

23

87039402

NUT,3/8"-16, GB

2шт.

24

17412001

WASHER,19.46mm ID x 38.1mm OD x 4.78mm Thk

3/4 ID, H.T.

4шт.

25

87613197

WASHER,0.78" ID x 1.25" OD x 0.07" Thk

16шт.

26

87367

WASHER,1.06" ID x 2" OD x 0.13" Thk

20шт.

27

09102904

SPACER

1 x 3/4

4шт.

28

17616020

WASHER

1, Machinery, 14 ga

8шт.

30

18534227

DANGER DECAL

Danger

2шт.

31

18534261

DECAL

DMI

1шт.

32

00148150

SPECIAL PIN

1 x 7.94

2шт.

33

09102982

SPACER

8шт.

34

311863A1

REFLECTOR

Red

2шт.

35

311864A1

REFLECTOR

Yellow

2шт.

36

413-1024

BOLT,Hex, 5/8" - 11 x 1-1/2", Gr 5

2шт.

37

09661455

SHIM

16 ga

1шт.

38

09661456

SHIM

44 ga

1шт.

39

6395

LOCK NUT,5/8"-11, GB

2шт.

40

429723A1

SCREW

5.19 Thread

2шт.

Выбрано товаров: 42