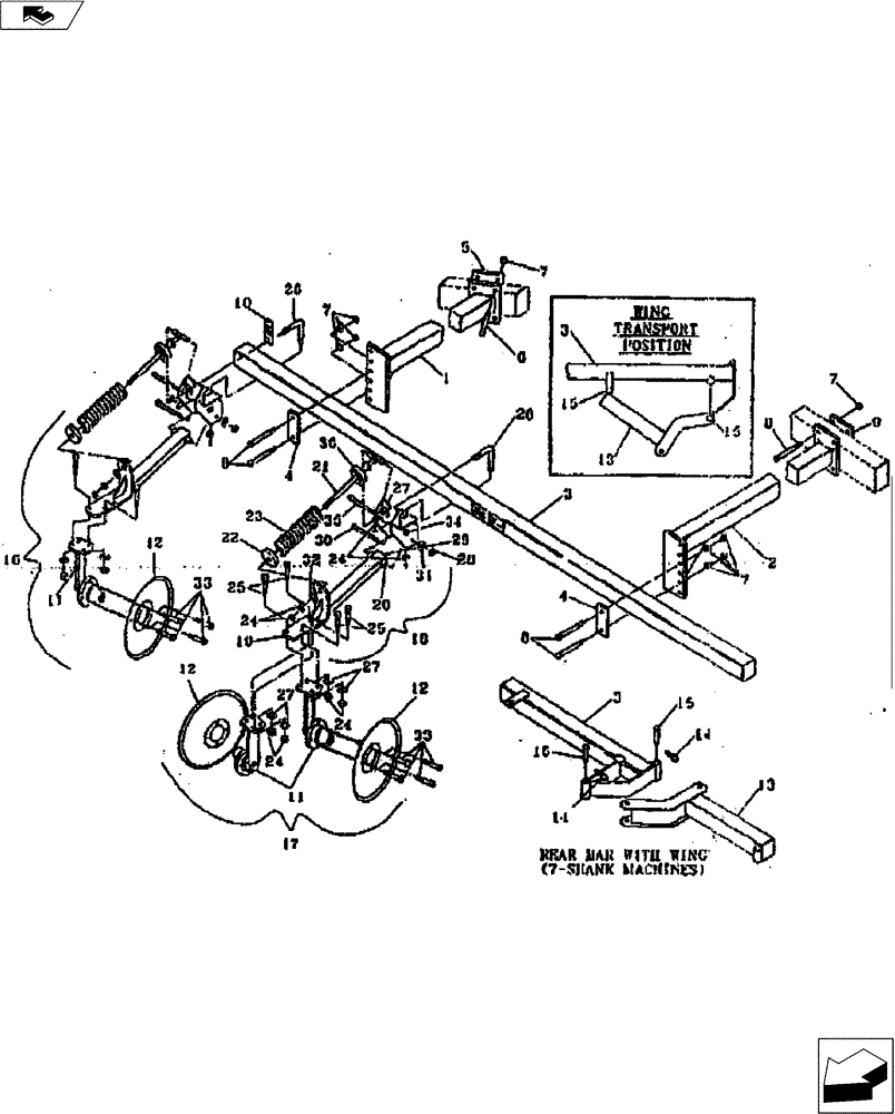
Запчасти Case IH TIGER-TWO (75.200.06) - DISC LEVELER ASSY (75) - SOIL PREPARATION

Схема запчастей Case IH TIGER-TWO - (75.200.06) - DISC LEVELER ASSY (75) - SOIL PREPARATION
36
4
30
20
10
11
32
20
16
13
12
25
10
11
33
12
20
8
35
6
27
11
20
24
27
15
3
33
12
10
8
17
1
24
23
24
3
13
22
3
15
25
7
7
3
21
15
31
10
4
20
7
14
27
7
34
24
2
FIT
1:1
100%

Артикул

Название

Примечание

Количество

1

09101400

ARM

RH Support Arm (Tiger-Two)

1шт.

1

09101500

ARM

LH Support

1шт.

2

09576400

BRACKET

RH Support Arm (Coulter Champ II HD)

1шт.

2

09576450

BRACKET

LH Support Arm

1шт.

3

09102400

BAR ASSY.

Leveller

1шт.

3

09102500

Leveller Bar (Tiger-Two 7 Shank Only)

1шт.

4

05021000

PLATE

Shank Male

2шт.

5

09100130

Male (Tiger-Two)

2шт.

6

16901245

BOLT

3/4" X 10 1/2" Nc Hex

8шт.

7

NSS

NOT SOLD SEPARAT

3/4" Nc Hex Nut

1шт.

8

413-12104

BOLT,Hex, 3/4" - 10 x 6-1/2", Gr 5

1шт.

9

09576403

BRACKET

2шт.

10

09102170

REFLECTOR

Rear Reflector Ass.

1шт.

11

87328481

HUB

Spindle Mount

1шт.

12

443628A1

PLOW DISC

1шт.

13

09102350

BAR ASSY.

Leveler Wing

2шт.

14

NSS

NOT SOLD SEPARAT

1/8 X 2 Fiair Pir ZP.

4шт.

15

NSS

NOT SOLD SEPARAT

1" X 5 1/4" Clevis Pin Z.P

4шт.

16

09102010

PLOW DISC

Outside Leveler Complete, Includes Ref. 11, 12, and 18

1шт.

17

09102011

PLOW DISC

Inner Leveler Complete, Includes Ref. 11, 12, and 18

1шт.

18

09102100

PLOW DISC

Leveler, Includes Ref. 19 - 36

1шт.

19

09102120

ARM/LIFTING DEVICE

Leveler Pivot

1шт.

20

09102125

3шт.

21

09102140

EYEBOLT

BOLT, EYE Spring Pivot

1шт.

22

20090101

HOLDER

Spring Holder Casting

1шт.

23

24143890

SPRING

Compression

1шт.

24

NSS

NOT SOLD SEPARAT

5/8" NC Hex Nut Gd 2

1шт.

25

NSS

NOT SOLD SEPARAT

5/8" X 2 NC Hex Nut Gd 2

1шт.

26

16510150

PLOW BOLT

5 5/16 Sq L Bolt

1шт.

27

NSS

NOT SOLD SEPARAT

5/8" Std. Washer Z.P

1шт.

28

NSS

NOT SOLD SEPARAT

1/2" NC Hex Lock Nut

1шт.

29

NSS

NOT SOLD SEPARAT

1/4 28 Straight bolt

1шт.

30

16008285

BOLT

1/2" X 7" NC Hex Bolt Gd 5 Z.P

1шт.

31

NSS

NOT SOLD SEPARAT

1/2" X Std Washer Z.P

1шт.

32

17413011

WASHER

Special Washer

1шт.

33

87847

BOLT,Hex, 1/2" - 20 x 1 1/4", Gr 5

1шт.

34

NSS

NOT SOLD SEPARAT

5/8" NC Hex Lock Nut Z.P

1шт.

35

14011001

NUT

5/8" X 7" NC Hex Bolt Gd 5Block

1шт.

36

20090100

HOLDER

Spring Holder Casting

1шт.

Выбрано товаров: 39