Запчасти Case IH 181 (9-14) - HITCH PARTS, RIGID FRAME, THREE POINT HITCH, CATEGORY II, 15 FOOT HOE (09) - CHASSIS/ATTACHMENTS

Схема запчастей Case IH 181 - (9-14) - HITCH PARTS, RIGID FRAME, THREE POINT HITCH, CATEGORY II, 15 FOOT HOE (09) - CHASSIS/ATTACHMENTS
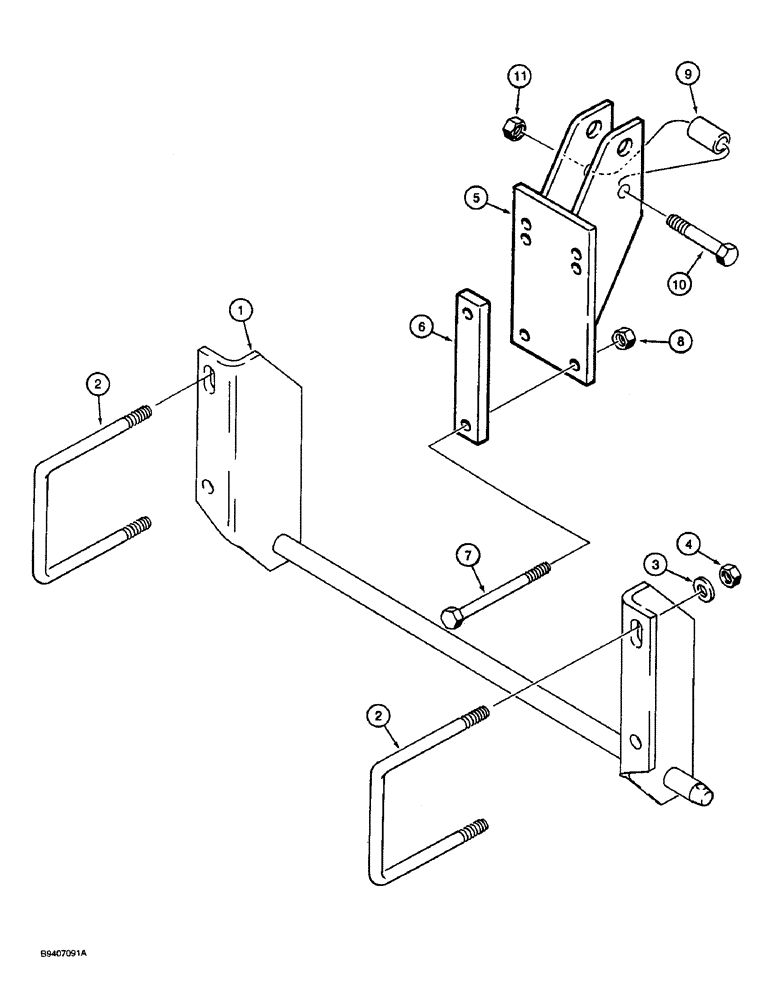
2
7
5
1
4
11
3
10
9
8
6
2
FIT
1:1
100%

Артикул

Название

Примечание

Количество

1

149499C2

BRACKET

- lower hitch

1шт.

2

493975R3

U-BOLT,3/4" - 10 x 6 1/2", Steel

- 3/4 inch NC

2шт.

3

495-81255

WASHER,0.78" ID x 1.5" OD x 0.18" Thk

- flat, 25/32 x 1-1/2 x 5/32 inch

4шт.

4

425-1012

NUT,3/4"-10, G5

- hex, 3/4 inch NC

4шт.

5

149496C1

PLATE

- mast

1шт.

6

1261516C1

STRAP

- upper hitch bracket

2шт.

7

413-10112

BOLT,Hex, 5/8" - 11 x 7", Gr 5

- hex, 5/8 NC x 7 inch

4шт.

8

230-42110

LOCK NUT,5/8"-11, GA

NUT - hex lock, 5/8 inch NC

4шт.

9

462425R2

SPACER

- upper link

1шт.

10

413-1264

BOLT,Hex, 3/4" - 10 x 4", Gr 5

- hex, 3/4 NC x 4 inch

1шт.

11

230-42112

LOCK NUT,3/4"-10, GA

NUT - hex locking, 3/4 inch NC

1шт.

Выбрано товаров: 11