Запчасти Case IH 181 (9-30) - CARRYING WHEEL (09) - CHASSIS/ATTACHMENTS

Схема запчастей Case IH 181 - (9-30) - CARRYING WHEEL (09) - CHASSIS/ATTACHMENTS
4
17
9
15
18
6
19
16
14
3
7
5
8
2
13
4
1
FIT
1:1
100%

Артикул

Название

Примечание

Количество

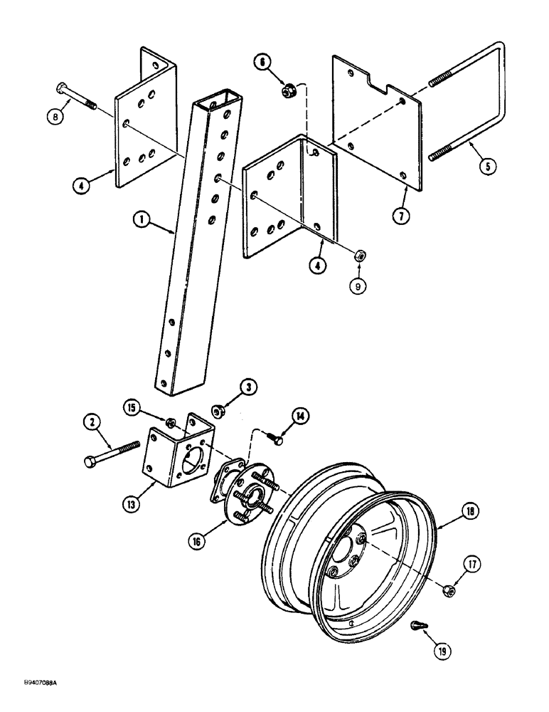
1

1264437C1

TUBE,707.5 mm Length

SUPPORT - carrying wheel

1шт.

2

413-880

BOLT,Hex, 1/2" - 13 x 5", Gr 5

- hex, 1/2 NC x 5 inch

2шт.

3

231-5148

FLANGE NUT,Flg, USR, 1/2"-13

2шт.

4

141297C2

ANGLE

BRACKET - carrying wheel angle

2шт.

5

1250812C1

U-BOLT,5/8" - 11 x 182.40mm W x 160.50mm L

- frame retaining, 5 x 7 inch toolbar

2шт.

5

1250813C1

U-BOLT

- frame retaining, 7 x 7 inch toolbar

2шт.

6

230-42110

LOCK NUT,5/8"-11, GA

NUT - hex lock, 5/8 inch NC

4шт.

7

141295C1

PLATE

- angle bracket, if used

1шт.

8

413-1264

BOLT,Hex, 3/4" - 10 x 4", Gr 5

- hex, 3/4 NC x 4 inch

2шт.

9

231-42112

NUT,3/4"-10, GB

NUT - hex, self-locking, 3/4 inch NC

2шт.

13

141294C1

PLATE

- spindle bearing mounting

1шт.

14

413-616

BOLT,Hex, 3/8" - 16 x 1", Gr 5

- hex, 3/8 NC x 1 inch

4шт.

15

231-5146

FLANGE NUT,3/8"-16

4шт.

16

141298C91

HUB

SPINDLE - carrying wheel and bearing

1шт.

17

149254C1

WHEEL NUT

- spindle stud retaining, M12 x 1.50

5шт.

18

141276C1

WHEEL

- carrying, 13 inch

1шт.

19

810768C1

VALVE

- wheel

1шт.

Выбрано товаров: 17