Запчасти Case IH 181 (4-2) - WIRING HARNESS AND LAMPS, P.I.N. JAG 0211512 AND AFTER (04) - ELECTRICAL SYSTEMS

Схема запчастей Case IH 181 - (4-2) - WIRING HARNESS AND LAMPS, P.I.N. JAG 0211512 AND AFTER (04) - ELECTRICAL SYSTEMS
15
10
3
5
16
6
8
14
4
9
7
13
11
12
2
1
FIT
1:1
100%

Артикул

Название

Примечание

Количество

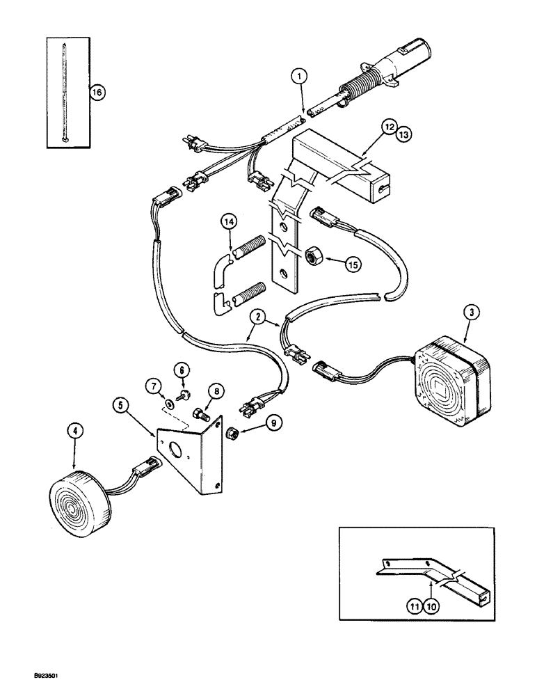
1

92091C2

HARNESS

- main wiring

1шт.

2

92097C1

HARNESS

- lamps

2шт.

3

91913C91

LIGHT

LAMP ASSEMBLY - warning/turn signal, See Figure 4-04

2шт.

4

91986C91

LIGHT

LAMP ASSEMBLY - tail, See Figure 4-04

1шт.

5

1333942C1

BRACKET

- tail lamp mounting

1шт.

6

280-14510

SELF-TAP SCREW,Hex Wash Hd, #10 x 5/8"

SCREW - hex washer head tapping, No. 10-16 x 5/8 inch

2шт.

7

495-11034

WASHER,5/16", SAE

5/16" SAE (flat, 11/32 x 11/16 x 1/16")

2шт.

8

413-612

BOLT,Hex, 3/8" - 16 x 3/4", Gr 5

2шт.

9

231-5146

FLANGE NUT,3/8"-16

2шт.

10

1333936C2

ANGLE

BRACKET - light support, left, rigid frame

1шт.

11

1333937C2

ANGLE

BRACKET - light support, right, rigid frame

1шт.

12

1333944C2

BRACKET

- light, left, folding frame

1шт.

13

1333945C2

BRACKET

- light, right, folding frame

1шт.

14

1250813C1

U-BOLT

- 5/8 inch NC

2шт.

15

425-1010

NUT,5/8"-11, G5

2шт.

16

306132C1

CABLE TIE,14.5" L

STRAP - tie, nylon, 14 inch long

10шт.

Выбрано товаров: 16