Запчасти Case IH 224 (B-7) - SAFETY LAMP UNIT / PRODUCT GRAPHICS

Схема запчастей Case IH 224 - (B-7) - SAFETY LAMP UNIT / PRODUCT GRAPHICS
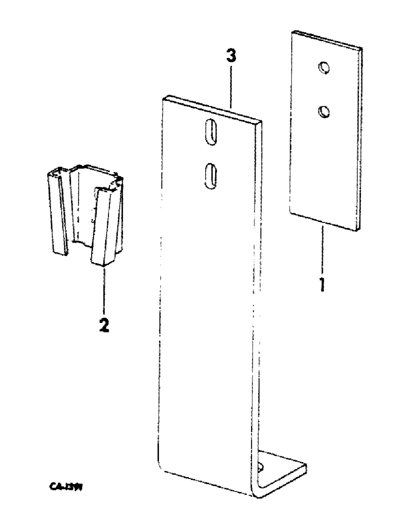
1
2
3
FIT
1:1
100%

Артикул

Название

Примечание

Количество

1

488373R1

BAR, SMV bracket

1шт.

18474R1

BOLT,Hex, 5/16" - 18 x 1", Gr 2

5/16 x 1 znd hex-hd mach

2шт.

80681

LOCK WASHER,5/16"

WASHER, LOCK, 5/16"

2шт.

120376

NUT,5/16"-18, G5

2шт.

2

398976R1

BRACKET

SOCKET, lamp bracket

1шт.

16897R1

CARRIAGE BOLT,Short Nk, 5/16" - 18 x 3/4", Gr 2, Full Thd

BOLT, 5/16 x 3/4 znd

1шт.

80681

LOCK WASHER,5/16"

WASHER, LOCK, 5/16"

2шт.

120376

NUT,5/16"-18, G5

2шт.

3

521996R3

SUPPORT

BRACKET, safety lamp socket, for expandable 4-row

1шт.

18828R1

BOLT,Hex, 5/8"-11 x 4", G5

5/8 x 4 znd hex-hd mach

1шт.

464623R1

WASHER

21/32 x 1-1/2 x 11 ga C-Z

1шт.

492-11062

BEARING WASHER,5/8"

WASHER, LOCK, 5/8"

1шт.

280374

NUT,Hex, 5/8" - 11, Gr 5

5/8-11 C-Z hex

1шт.

2754030R1

PRODUCT GRAPHIC

service model number

1шт.

1001412R2

DECAL

PRODUCT GRAPHIC, IH

1шт.

2751266R1

PRODUCT GRAPHIC

International

1шт.

Выбрано товаров: 16