Запчасти Case IH CRUMBLER (39.110.01) - 3000# JACK (09) - CHASSIS/ATTACHMENTS

Схема запчастей Case IH CRUMBLER - (39.110.01) - 3000# JACK (09) - CHASSIS/ATTACHMENTS
2
7
5
1
8
4
3
FIT
1:1
100%

Артикул

Название

Примечание

Количество

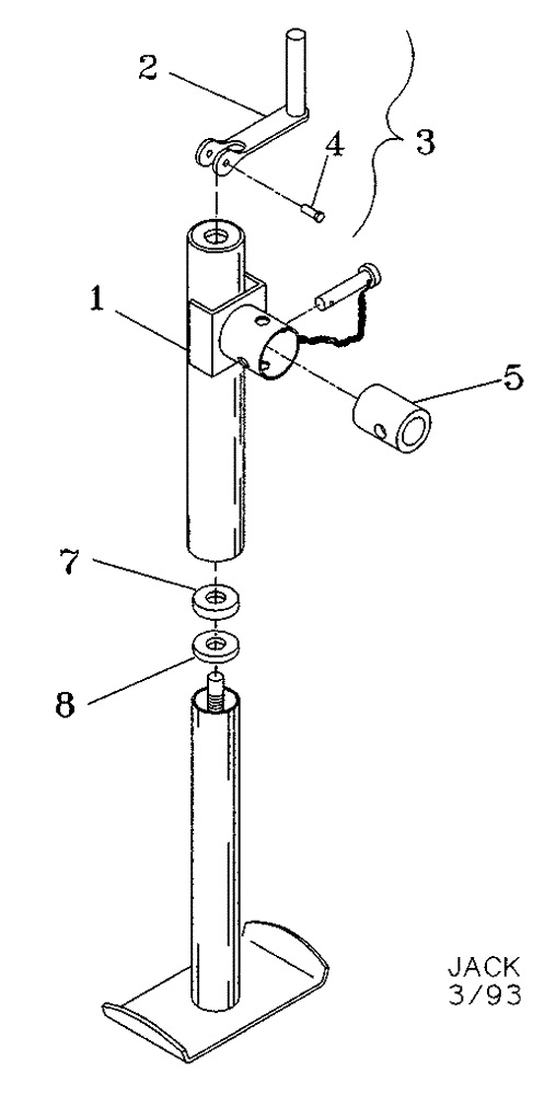
1

84533450

JACK

5000 lb

1шт.

2

NSS

NOT SOLD SEPARAT

Jack Handle

1шт.

3

32230100

PACKAGE

Handle Replacement, Inc. 2, 4, & 9

1шт.

4

NSS

NOT SOLD SEPARAT

1/4 x 1, NC, Standard, Hex

1шт.

5

09311040

TUBE,1.3" ID, 2" OD, 2.62" Length

Mounting

1шт.

7

NSS

NOT SOLD SEPARAT

Thrust Bearing

1шт.

8

NSS

NOT SOLD SEPARAT

Thrust Washer

1шт.

9

NSS

NOT SOLD SEPARAT

Lock Nut, 1/4

1шт.

Выбрано товаров: 8