Качественные детали и логистика
Оригинальные и аналоговые запчасти с доставкой по России, Казахстану и Беларуси
©2022 PartSell ООО "Система" ИНН 2463123282 ОГРН 1212400004838
Центральный офис: г. Красноярск, Академика Киренского, д.87, пом.4
Телефон: 8 (800) 777-65-74 Email: zakaz@partsell.ru
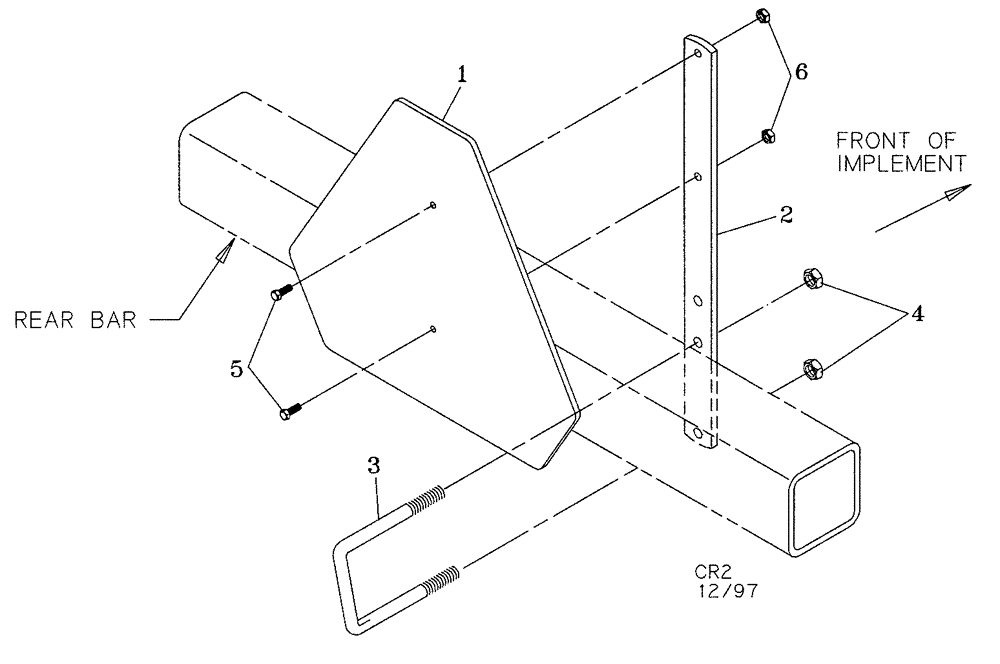
(90.108.03.01) - SLOW MOVING VEHICLE EMBLEM
№
Артикул
Название
Примечание
Количество
1
311860A1
EMBLEM
SMV
1шт.
2
06000099
BRACE
3
16309091
U-BOLT,3/8" - 16, Square, 4" W x 5" L
BOLT "U" 3/8 X 4 X 4
4
86992213
NUT
Hex, 3/8, NC
2шт.
5
413-412
BOLT,Hex, 1/4" - 20 x 3/4", Gr 5
Cap, NC
6
86992211
Hex, 1/4, NC
Выбрано товаров: 0