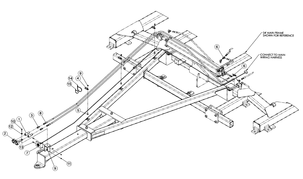
Запчасти Case IH 340 (35.100.13) - REAR HITCH HYDRAULICS 28 THROUGH 34 UNITS (35) - HYDRAULIC SYSTEMS

Схема запчастей Case IH 340 - (35.100.13) - REAR HITCH HYDRAULICS 28 THROUGH 34 UNITS (35) - HYDRAULIC SYSTEMS
10
11
6
8
13
2
15
1
6
3
4
9
7
14
9
5
12
FIT
1:1
100%

Артикул

Название

Примечание

Количество

1

25705021

COUPLING

Female

2шт.

2

25705012

COUPLING

Breakaway

1шт.

3

218-5058

HYD CONNECTOR,9/16" - 18 Male JIC x 3/4" - 18 Male ORB

2шт.

4

22510700

HOSE CLAMP,15.86mm

5/8, Cushioned

3шт.

5

433-616

CARRIAGE BOLT,Sq Nk, 3/8" - 16 x 1", Gr 5

3шт.

6

218-5222

TEE,37 Degree, 9/16"-18, x 9/16"-18, Fem Sw Run

2шт.

7

87360600

WIRE HARNESS

Light Harness, 28-34 Units

1шт.

8

810606C1

FLEXIBLE HOSE

1/4 x 195

2шт.

9

86992213

NUT

3/8

4шт.

10

413-620

BOLT,Hex, 3/8" - 16 x 1-1/4", Gr 5

1шт.

11

86992211

NUT

1/4, NC

2шт.

12

495-21044

WASHER,3/8"

1шт.

13

413-416

BOLT,Hex, 1/4" - 20 x 1", Gr 5

2шт.

14

386170C1

CABLE TIE,.30" x 27 1/2"

CABLE STRAP Tie

1шт.

15

533959R1

CABLE TIE,.135" x 11"

CABLE STRAP Tie

1шт.

Выбрано товаров: 15