Запчасти Case IH 340 (75.200.21) - SPIKE HARROW PARTS (75) - SOIL PREPARATION

Схема запчастей Case IH 340 - (75.200.21) - SPIKE HARROW PARTS (75) - SOIL PREPARATION
16
4
22
13
24
23
27
3
10
11
17
12
18
29
21
5
19
20
26
1
31
30
8
9
25
6
15
14
2
28
7
FIT
1:1
100%

Артикул

Название

Примечание

Количество

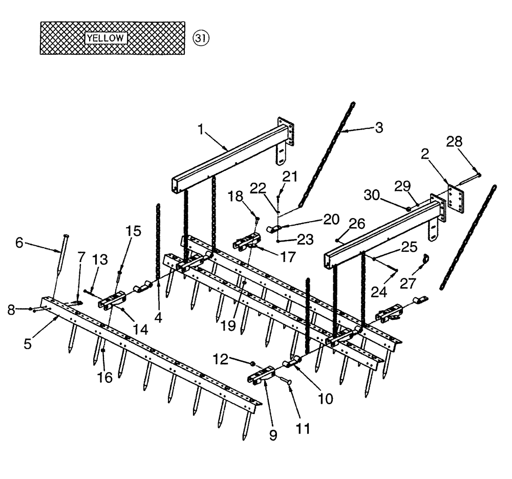
1

87417723

ARM

Mounting, 3-Bar Spike

2шт.

2

87417725

MOUNTING PLATE

2шт.

3

87417726

CHAIN

Pull, 23 Links

2шт.

4

87417727

CHAIN

Lift, 23 Links

6шт.

5

87417728

BAR

9 Tooth, 6 ft 6 in (Less Teeth)

3шт.

5

9 Tooth, 7ft 3in (Less Teeth)

3шт.

5

87417729

BAR

11 Tooth, 8 ft (Less Teeth)

3шт.

5

87417730

BAR

12 Tooth ,8 ft 9 in (Less Teeth)

3шт.

5

87417731

BAR

13 Tooth, 9 ft 6 in (Less Teeth)

3шт.

5

87417732

BAR

14 Tooth, 10 ft 3 in (Less Teeth)

3шт.

5

87417733

BAR

15 Tooth, 11 ft (Less Teeth)

3шт.

5

87417734

BAR

16 Tooth, 11 ft 9 in (Less Teeth)

3шт.

5

87417735

BAR

17 Tooth, 12 ft 6 in (Less Teeth)

3шт.

6

87417736

TOOTH

Spike

1шт.

7

87417737

U-BOLT

BOLT "U" V Shaped

1шт.

8

86992213

NUT

3/8

1шт.

9

87417738

BRACKET

Channel

4шт.

10

87417739

LINK

Assembly Pull

4шт.

11

433-1048

CARRIAGE BOLT,Sq Nk, 5/8" - 11 x 3", Gr 5

8шт.

12

85700693

NUT,5/8" - 11, Gr C

5/8, NC

8шт.

13

413-644

BOLT,Hex, 3/8" - 16 x 2-3/4", Gr 5

4шт.

14

86992213

NUT

3/8, NC

4шт.

15

413-840

BOLT,Hex, 1/2" - 13 x 2-1/2", Gr 5

6шт.

16

86992215

LOCK NUT,1/2"-13, GC

6шт.

17

87417740

BRACKET

Channel Assembly

2шт.

18

413-820

BOLT,Hex, 1/2" - 13 x 1-1/4", Gr 5

2шт.

19

86992215

LOCK NUT,1/2"-13, GC

2шт.

20

87417741

CHAIN

Pull Assembly

2шт.

21

413-620

BOLT,Hex, 3/8" - 16 x 1-1/4", Gr 5

2шт.

22

495-21044

WASHER,3/8"

2шт.

23

86992213

NUT

3/8, NC

2шт.

24

413-648

BOLT,Hex, 3/8" - 16 x 3", Gr 5

6шт.

25

495-21044

WASHER,3/8"

6шт.

26

86992213

NUT

3/8, NC

3шт.

27

87417742

LINCH PIN

7/16

6шт.

28

280232

BOLT,Hex, 5/8" - 11 x 5 1/2", Gr 5

8шт.

29

492-11062

BEARING WASHER,5/8"

8шт.

30

425-1010

NUT,5/8"-11, G5

8шт.

31

311864A1

REFLECTOR

Amber

1шт.

NOTE: Mount On Outside Main Frame Mounting Tubes Only

1шт.

Выбрано товаров: 40