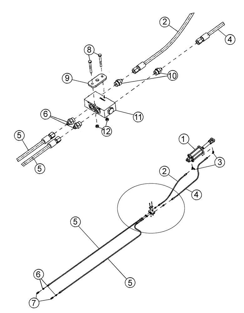
Запчасти Case IH 370 TRUE-TANDEM (35.100.03) - LEVELING HYDRAULICS (35) - HYDRAULIC SYSTEMS

Схема запчастей Case IH 370 TRUE-TANDEM - (35.100.03) - LEVELING HYDRAULICS (35) - HYDRAULIC SYSTEMS
9
8
11
10
2
6
1
4
6
4
2
5
5
5
3
5
12
7
FIT
1:1
100%

Артикул

Название

Примечание

Количество

1

84130961

HYDRAULIC CYLINDER

4 x 8 With Stop Double Acting 38.1 mm Rod 70 mm Stroke

1шт.

2

147875C1

HYDRAULIC HOSE,6.40 mm ID x 890.00 mm, SAE 100R1

1шт.

3

76347

ELBOW,90 Degree, 9/16" - 18 JIC x 3/4" - 16 ORB

1шт.

4

1277506C1

HYDRAULIC HOSE,6.35mm ID x 1195mm L

1шт.

5

97646C1

HYDRAULIC HOSE,12.70 mm ID x 381.00 mm, SAE 100 R1

1/4 x 150

1шт.

6

128817

HYD CONNECTOR,3/4" - 16 ORB x 9/16" - 18 JIC

1шт.

7

25705041

COUPLING

ISO Male

1шт.

8

280600

BOLT,Hex, 1/4" - 20 x 3 3/4", Gr 5

1шт.

9

09987521

PLATE

1шт.

10

1263477C3

HYD CONNECTOR

1шт.

11

298624A1

VALVE

Double Piloted

1шт.

12

280129

NUT,1/4"-20

1шт.

Выбрано товаров: 12