Запчасти Case IH 3900 (9-06) - HITCH (09) - CHASSIS/ATTACHMENTS

Схема запчастей Case IH 3900 - (9-06) - HITCH (09) - CHASSIS/ATTACHMENTS
24
2
25
22
20
15
10
27
7
5
16
12
23
13
1
11
19
4
17
13
3
18
21
6
14
8
26
9
FIT
1:1
100%

Артикул

Название

Примечание

Количество

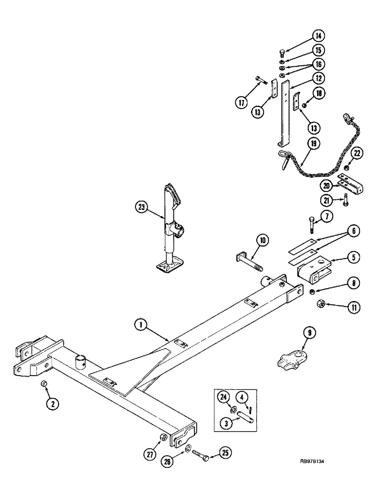
1

129895C95

HITCH ASSY

HITCH ASSEMBLY - disk harrow (Shown), Includes: Ref. 2

1шт.

Ref # 1, part number 129895C95, the hitch tube is 1643.0mm long. the tounge tube is 1884.0mm long.

1шт.

Used on disk harrows coded A, B, C, D, E, F, G and H.

1шт.

1

121411C95

HITCH ASSY, TRAILER

HITCH ASSEMBLY - disk harrow, Includes: Ref. 2

1шт.

121411C95 the hitch tube is 1884.0mm long. The tounge tube is 1884.0mm long. bj 2-23-98.

1шт.

Used on disk harrows coded I, J, K, L, M, N, O, P, Q, R, S, T, U and V.

1шт.

2

112886C1

BUSHING

- tension

1шт.

3

1960707C2

PIN

- special, hitch mounting (If used)

2шт.

4

438-32440

PIN,3/8" x 2 1/2", Coiled

4шт.

5

129900C2

CLEVIS

- hitch

1шт.

6

540475R1

SPRING

- clevis

2шт.

7

413-1080

BOLT,Hex, 5/8" - 11 x 5", Gr 5

1шт.

8

231-41110

LOCK NUT,5/8"-11, GB

NUT - hex, self-locking, 5/8 inch NC

1шт.

9

61023C3

HITCH

- hitch

1шт.

10

121362C1

PIN

- hitch clevis

1шт.

11

28748R1

LOCK NUT,1 1/4"-7, G5

NUT - hex, self-locking, 1-1/4 inch NC

1шт.

12

58643C1

SUPPORT

- hydraulic hose

1шт.

13

58644C1

HOLDER

- hydraulic hose

2шт.

14

413-1220

BOLT,Hex, 3/4" - 10 x 1-1/4", Gr 5

- hex, 3/4 NC x 1-1/4 inch

1шт.

15

492-11075

LOCK WASHER,3/4"

3/4"

1шт.

16

495-81042

WASHER,25/32" x 1 1/2" x .120"

- flat, 25/32 x 1-1/2 x 7/64 inch

2шт.

17

413-856

BOLT,Hex, 1/2" - 13 x 3-1/2", Gr 5

- hex, 1/2 NC x 3-1/2 inch

2шт.

18

231-4118

LOCK NUT,1/2"-13, GB

NUT - hex, self-locking, 1/2 inch NC

2шт.

19

87398923

CHAIN

- 5/16 link x 59-1/4 inch long

1шт.

20

1279163C1

CLEVIS COUPLING

CLEVIS - chain

1шт.

21

413-1056

BOLT,Hex, 5/8" - 11 x 3-1/2", Gr 5

1шт.

22

231-41110

LOCK NUT,5/8"-11, GB

NUT - hex, self-locking, 5/8 inch NC

1шт.

23

121558A1

JACK

- hitch, Hammerblow

1шт.

24

495-81205

WASHER,32.54mm ID x 50.8mm OD x 1.7mm Thk

- flat, 1-9/32 x 2 x 3/64 inch

4шт.

25

252079A1

BOLT

- hex (If used)

2шт.

26

496-81017

WASHER,1 3/8" x 2 1/2" x .156", HDN

- flat, 1-3/8 x 2-1/2 x 1/8

4шт.

27

28748R1

LOCK NUT,1 1/4"-7, G5

NUT - hex, self-locking, 1-1/4 inch NC

2шт.

Выбрано товаров: 32