Запчасти Case IH 3950 (9-23) - CENTER TOOTH MOUNTING, SPRING TOOTH (09) - CHASSIS/ATTACHMENTS

Схема запчастей Case IH 3950 - (9-23) - CENTER TOOTH MOUNTING, SPRING TOOTH (09) - CHASSIS/ATTACHMENTS
21
3
7
13
2
9
11
10
12
17
4
16
12
6
5
1
19
20
14
18
8
22
16
15
13
FIT
1:1
100%

Артикул

Название

Примечание

Количество

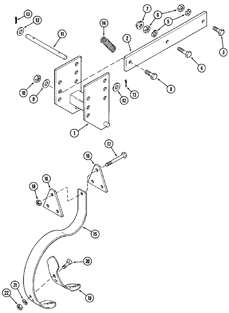
1

129721C2

SUPPORT

- center tooth mounting

1шт.

2

147514C1

BAR

PLATE - center tooth mounting

2шт.

3

413-1232

BOLT,Hex, 3/4" - 10 x 2", Gr 5

- hex, 3/4 NC x 2 inch

3шт.

4

413-1248

BOLT,Hex, 3/4" - 10 x 3", Gr 5

- hex, 3/4 NC x 3 inch

1шт.

5

492-11075

LOCK WASHER,3/4"

3/4"

4шт.

6

425-1012

NUT,3/4"-10, G5

- hex, 3/4 inch NC

4шт.

7

232-41112

NUT,3/4"-10, GC

NUT, LOCK, 3/4"-10, GC

1шт.

8

413-1232

BOLT,Hex, 3/4" - 10 x 2", Gr 5

- hex, 3/4 NC x 2 inch

2шт.

9

495-11081

WASHER,3/4", SAE

2шт.

10

232-41112

NUT,3/4"-10, GC

NUT, LOCK, 3/4"-10, GC

2шт.

11

147513C1

PIN

- spring retaining

1шт.

12

495-11081

WASHER,3/4", SAE

2шт.

13

432-1624

COTTER PIN,1/4" x 1 1/2"

Pin, Split (Cotter), 1/4" x 1-1/2"

2шт.

14

524660R1

VALVE SPRING

SPRING - center tooth tension

1шт.

15

97536C1

SPRING

TOOTH - spring, 9/16 inch thick

1шт.

16

91256C1

LARGE PLATE

PLATE - clamp

2шт.

17

413-880

BOLT,Hex, 1/2" - 13 x 5", Gr 5

- hex, 1/2 NC x 5 inch

3шт.

18

230-4118

LOCK NUT,1/2"-13, GA

NUT - hex, self-locking, 1/2 inch NC

3шт.

19

547188R2

POINT

- reversible spring

1шт.

20

26538R1

CARRIAGE BOLT,#3, 3/8" - 16 x 1 1/2", Gr 8

BOLT - plow, 3/8 NC x 1-1/2 inch

2шт.

21

492-11038

LOCK WASHER,3/8"

2шт.

22

425-106

NUT,3/8"-16, Cl 5

2шт.

Выбрано товаров: 22