Запчасти Case IH D-SERIES (04) - HITCH

Схема запчастей Case IH D-SERIES - (04) - HITCH
FIT
1:1
100%

Артикул

Название

Примечание

Количество

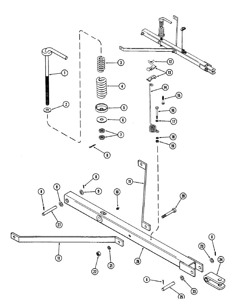
1

T50413

SCREW - leveling

1шт.

2

195-2124

WASHER - 3" x 1-5/16" x 12 ga.

1шт.

3

T50406

SPRING - cushion, upper

1шт.

4

T50405

SPRING - cushion, lower

1шт.

5

T50416

SEAT - spring, lower

1шт.

6

195-2132

WASHER - 4" x 1-3/8" x 3/16"

1шт.

7

129-152

JAM NUT,Jam, 1 1/4"-7, G5

- jam, 1-1/4" N.C. hex, Z.P.

2шт.

8

132-152

PIN

- cotter, 1/4" x 1-3/4"

5шт.

9

195-53

WASHER,1" x 2" x .134"

- 2" x 1-1/16" x 10 ga.

2шт.

10

219-1

LUBE NIPPLE,1/8" - 27 NPTF

FITTING - grease, 1/8"

1шт.

11

T50392

BRACE - hitch tongue

2шт.

12

129-407

NUT, WING

NUT - wing, 7/16"

1шт.

13

T37564

CLAMP - hose support

2шт.

14

H4730S

SUPPORT

- hose

1шт.

15

11-728

BOLT (MACHINE),Short NK, 7/16"-14 x 1 3/4", G2

BOLT - 7/16" x 1-3/4" cge.

1шт.

16

13-880

BOLT,Hex, 1/2" - 13 x 5", Gr 5

1шт.

17

195-2056

WASHER,5/8" x 1" x .065"

- 1" x 9/16" x 16 ga.

1шт.

18

92-8

LOCK WASHER,1/2"

1шт.

19

25-108

NUT,1/2"-13, G5

- 1/2" N.C. hex.

1шт.

20

13-16104

BOLT,Hex, 1" - 8 x 6-1/2", Gr 5

1шт.

21

92-16

LOCK WASHER,1"

WASHER, LOCK, 1"

1шт.

22

25-1016

NUT,1"-8, G5

1шт.

23

95-18

WASHER,1 1/4" x 2 3/4" x .164"

- 2-3/4" x 1-1/4" x 8 ga.

2шт.

24

T50357

CLEVIS - hitch

1шт.

25

T50393

PIN - hitch clevis, 1-3/16" x 6-39/64"

1шт.

26

T50480

TONGUE - hitch

1шт.

27

T50412

PIN - hitch mounting, 1" x 7-5/8"

1шт.

Выбрано товаров: 27