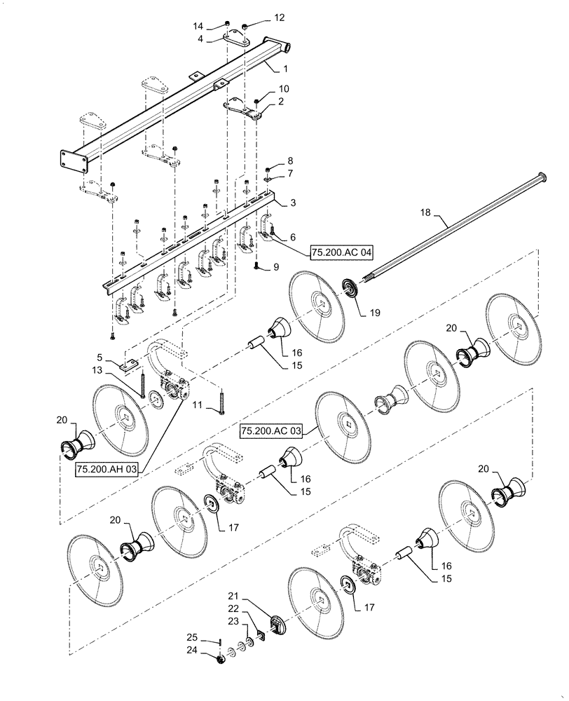
1
47481026
TUBE
Main Gang Large Left Front Right Rear
1шт.
2
47401689
PLATE
Gang Scraper
3шт.
3
47720508
ANGLE
9 Blade 8 Scraper
1шт.
4
47401630
PLATE
Mount 3 x 5"
3шт.
5
47481252
PLATE
Strap Gangs
3шт.
6
84180924
CARRIAGE BOLT
5/8"-11 x 2.5"
8шт.
7
87623346
WASHER,16.66mm ID x 38.1mm OD x 13.72mm Thk
8шт.
8
85700693
NUT,5/8" - 11, Gr C
8шт.
9
280742
CARRIAGE BOLT,Sq Nk, 5/8" - 11 x 2", Gr 5
3шт.
10
84180923
FLANGE NUT
5/8"
3шт.
11
87490802
BOLT
7/8" -9 x 7"
3шт.
12
87681198
NUT,Hex, 7/8"-9, 0.45 high
3шт.
13
88945
BOLT,Hex, 3/4" - 10 x 8", Gr 5
6шт.
14
280375
NUT,3/4"-10, GC
6шт.
15
86983480
BUSHING,49.28mm ID x 55.17mm OD x 122mm L
3шт.
16
86983463
SPOOL
9" Bearing Long
3шт.
17
86983464
SPOOL
9" Bearing Short
3шт.
18
447941A1
PLOW BOLT
Arbor Square
1шт.
19
60615C1
WASHER
Head
1шт.
20
437773A1
SPOOL
Spacing 9" Heavy
5шт.
21
549973R2
SQ HOLE WASHER
End
1шт.
22
87428606
NUT
Square Hole
1шт.
23
87412142
WASHER,40mm ID x 75mm OD x 6.5mm Thk
1шт.
24
84151572
SLOTTED NUT
Sloted 1 1/2-6"
1шт.
25
87019504
COTTER PIN,7.94mm OD x 60.33mm L, Slotted
1шт.