Запчасти Case IH D-155 (08-14) - CYLINDER HEAD

Схема запчастей Case IH D-155 - (08-14) - CYLINDER HEAD
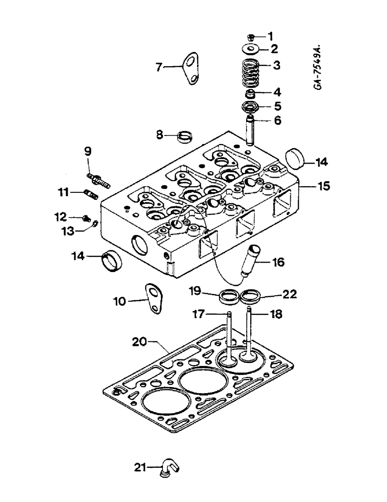
17
8
4
21
22
12
2
14
20
14
19
5
9
13
3
1
7
16
18
6
11
15
10
FIT
1:1
100%

Артикул

Название

Примечание

Количество

1

3055057R91

ROCKER ARM COTTER

LOCK, VALVE SPRING - 3 CYLINDER

12шт.

1

3055057R91

ROCKER ARM COTTER

LOCK, VALVE SPRING - 4 CYLINDER

16шт.

1

3055057R91

ROCKER ARM COTTER

LOCK, VALVE SPRING - 6 CYLINDER

24шт.

2

3055058R2

SPRING CUP

VALVE RETAINER - 3 CYLINDER

6шт.

2

3055058R2

SPRING CUP

VALVE RETAINER - 4 CYLINDER

8шт.

2

3055058R2

SPRING CUP

VALVE RETAINER - 6 CYLINDER

12шт.

3

3055060R1

SPRING

VALVE - 3 CYLINDER

6шт.

3

3055060R1

SPRING

VALVE - 4 CYLINDER

8шт.

3

3055060R1

SPRING

VALVE - 6 CYLINDER

12шт.

3

3136000R1

VALVE SPRING

4 CYLINDER

8шт.

3

3136000R1

VALVE SPRING

6 CYLINDER

12шт.

4

3218399R91

GASKET KIT

VALVE STEM, - SET OF 6 AND JUMPER - 3 CYLINDER

1шт.

4

3218399R91

GASKET KIT

VALVE STEM, - SET OF 6 AND JUMPER - 6 CYLINDER

2шт.

4

3228677R91

SEAL

VALVE STEM - SET OF 8 AND JUMPER - 4 CYLINDER

1шт.

4

3218398R91

SEAL

VALVE

1шт.

5

3055059R91

CAP

ROTO - 3 CYLINDER

6шт.

5

3055059R91

CAP

ROTO - 4 CYLINDER

8шт.

5

3055059R91

CAP

ROTO - 6 CYLINDER

12шт.

6

3055022R2

VALVE GUIDE

STEM - 3 CYLINDER

6шт.

6

3055022R2

VALVE GUIDE

STEM - 4 CYLINDER

8шт.

6

3055022R2

VALVE GUIDE

STEM - 6 CYLINDER

12шт.

7

3055369R1

PLATE

ENGINE LIFTING, REAR

1шт.

NLS

NO LONGER SERVICED

3/4 X 29 MM

1шт.

8

933573R1

PLUG,M32, Tapered

U 32 MM DIA. - 3 CYLINDER

4шт.

8

933573R1

PLUG,M32, Tapered

U 32 MM DIA. - 4 CYLINDER

4шт.

8

933573R1

PLUG,M32, Tapered

U 32 MM DIA. - 6 CYLINDER

6шт.

9

3228188R1

STUD

EXHAUST PIPE - USED FOR 690171C1

2шт.

10

3055370R1

STIRRUP

PLATE, ENGINE LIFTING, FRONT

1шт.

271604

BOLT,Hex, 3/4" - 10 x 1 1/8", Gr 5

3/4 X 29 MM

1шт.

11

3055663R1

STUD

EXHAUST MANIFOLD - 3 CYLINDER

6шт.

11

3055663R1

STUD

EXHAUST MANIFOLD - 4 CYLINDER

8шт.

11

3055663R1

STUD

EXHAUST MANIFOLD - 4 CYLINDER 856XL

6шт.

11

3055663R1

STUD

EXHAUST MANIFOLD - 6 CYLINDER

12шт.

12

934259R1

PLUG,Hex, M10 x 1

1шт.

13

718743R1

SEALING RING,M10 x 16 x 1

Packing

1шт.

13

930009R1

BANJO BOLT,M10 x 1 x 23mm

HOLLOW - 6 CYLINDER - DT-358, 858F

1шт.

14

934003R1

PLUG,M52, Conical

U

2шт.

15

3055366R96

HEAD (CYLINDER)

WITH ITEMS 6, 8, 14 AND 16 - 3 CYLINDER

1шт.

15

3055367R97

HEAD (CYLINDER)

WITH ITEMS 6, 8, 14 AND 16 - 4 CYLINDER

1шт.

15

3132476R95

HEAD

CYLINDER, 6 CYLINDER - DT-358, DT-402

1шт.

15

3138971R94

HEAD (CYLINDER)

WITH ITEM 6, 8, 14 AND 16 - 6 CYLINDER - 955, 956, 1055, 1056

1шт.

15

3055655R95

HEAD

CYLINDER - WITH ITEMS 6, 8, 14 AND 16 - 6 CYLINDER - 923, 933, 1420, 2500

1шт.

15

3055368R98

HEAD (CYLINDER)

WITH ITEMS 6, 8, 14 AND 16 - 6 CYLINDER - 1420, 2700

1шт.

15

3228724R91

HEAD (CYLINDER)

WITH ITEMS 6, 8, 14, 16, 21, 22 - 4 CYLINDER - 856XL ONLY

1шт.

3138747R1

BOLT,Cyl Hd, 9/16" - 12 x 123mm

9/16 X 123 MM - 3 CYLINDER

6шт.

3138747R1

BOLT,Cyl Hd, 9/16" - 12 x 123mm

9/16 X 123 MM - 4 CYLINDER

8шт.

3138747R1

BOLT,Cyl Hd, 9/16" - 12 x 123mm

9/16 X 123 MM - 6 CYLINDER

12шт.

3138748R1

BOLT,Flng, 9/16" - 12 x 5-3/4"

9/16 X 146 MM - 3 CYLINDER

8шт.

3138748R1

BOLT,Flng, 9/16" - 12 x 5-3/4"

9/16 X 146 MM - 4 CYLINDER

10шт.

3138748R1

BOLT,Flng, 9/16" - 12 x 5-3/4"

9/16 X 146 MM - 6 CYLINDER

14шт.

16

3055344R1

SLEEVE

INSERT NOZZLE HOLDER - 3 CYLINDER

3шт.

16

3055344R1

SLEEVE

INSERT NOZZLE HOLDER - 4 CYLINDER

4шт.

16

3055344R1

SLEEVE

INSERT NOZZLE HOLDER - 6 CYLINDER

6шт.

16

3132025R1

INSERT

NOZZLE HOLDER - 4 CYLINDER - DT-239

4шт.

16

3132025R1

INSERT

NOZZLE HOLDER - 6 CYLINDER - DT-358, DT-402 ONLY

6шт.

16

3136915R2

VALVE, ENG EXHAUST,

VALVE EXHAUST INSERT, NOZZLE HOLDER - 6 CYLINDER - DT-402/1455 ONLY

6шт.

17

3059459R2

VALVE

EXHAUST - 6 CYLINDER - DT-402/953 ONLY

6шт.

17

3059459R2

VALVE

EXHAUST - 4 CYLINDER - DT-239/856XL ONLY

4шт.

17

3055056R2

STD EXHAUST VALVE

STD ENGINE EXHAUST VALVE 3 CYLINDER - NOT FOR - DT-402

3шт.

17

3055056R2

STD EXHAUST VALVE

STD ENGINE EXHAUST VALVE 4 CYLINDER - NOT FOR - DT-402

4шт.

17

3055056R2

STD EXHAUST VALVE

STD ENGINE EXHAUST VALVE 6 CYLINDER - NOT FOR - DT-402

6шт.

18

3055055R2

OVERSIZE INLET VALVE

3 CYLINDER

3шт.

18

3055055R2

OVERSIZE INLET VALVE

4 CYLINDER

4шт.

18

3055055R2

OVERSIZE INLET VALVE

6 CYLINDER

6шт.

19

3132362R1

VALVE SEAT

SEAT, EXHAUST VALVE, OVERSIZE 0.15 MM

1шт.

19

3132361R1

INSERT

INSERT, SEAT, EXHAUST VALVE, OVERSIZE 0.40 MM

1шт.

20

3228361R1

CYLINDER HEAD GASKET

CYLINDER HEAD - 3 CYLINDER

1шт.

20

3228362R1

CYLINDER HEAD GASKET

CYLINDER HEAD - 4 CYLINDER

1шт.

20

3228019R1

CYLINDER HEAD GASKET

CYLINDER HEAD - 6 CYLINDER

1шт.

21

3055224R11

CINTRE

BOW PIPE, COOLING - 4 CYLINDER - 1255, 1455, 923, 933, 943, 953

4шт.

21

3055224R11

CINTRE

BOW PIPE, COOLING - 6 CYLINDER - 1255, 1455, 923, 933, 943, 953

6шт.

22

3144754R1

SEAT, VALVE

INSERT, INTAKE - OVERSIZE 0.15 MM - 6 CYLINDER - DT-239 - DT-358, DT-402

6шт.

22

3144755R1

RING

INSERT, SEAT INTAKE VALVE - OVERSIZE 0.40 MM DT-239 - 6 CYLINDER - DT-358, DT-402

6шт.

3136798R98

GASKET KIT

CYLINDER HEAD - 3 CYLINDER

1шт.

3136799R99

GASKET KIT

CYLINDER HEAD - 4 CYLINDER

1шт.

3136801R98

GASKET KIT

CYLINDER HEAD - 6 CYLINDER - D-310, D-358

1шт.

3138751R95

CYLINDER HEAD GASKET

CYLINDER HEAD - 6 CYLINDER - DT-358, DT-402

1шт.

Выбрано товаров: 77