Запчасти Case IH D-155 (11-128) - ANEROID

Схема запчастей Case IH D-155 - (11-128) - ANEROID
11
4
15
38
41
25
10
22
32
34
20
4
7
36
15
3
42
1
18
28
14
30
12
27
17
2
31
23
35
33
26
6
9
29
37
21
6
29
5
16
24
8
19
30
39
40
13
FIT
1:1
100%

Артикул

Название

Примечание

Количество

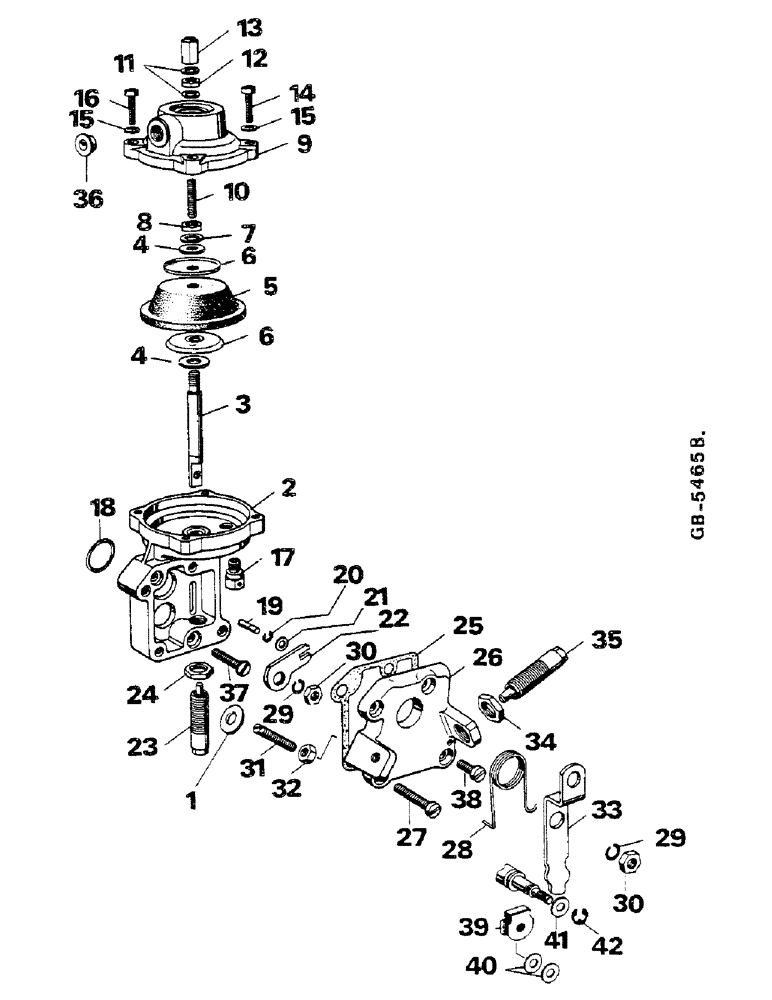
1

3059076R1

WASHER

1шт.

2

3078924R1

HOUSING

1шт.

3

3078925R1

ROD

CONTROL

1шт.

4

625572C1

WASHER

2шт.

5

625574C1

DIAPHRAGM

1шт.

6

625573C1

WASHER

2шт.

7

933983R1

LOCK WASHER,M6

1шт.

8

43362

NUT,M8 x 1.25, Cl 10

1шт.

9

3136160R1

COVER

SPARE PART

1шт.

10

3136136R1

SCREW

ADJUSTING

1шт.

11

933996R1

LOCK WASHER,M12

2шт.

12

933980R1

NUT

1шт.

13

625578C1

NUT

1шт.

14

931329R1

BOLT

3шт.

15

933986R1

LOCK WASHER,M5

4шт.

16

625580C1

SCREW

1шт.

17

625582C1

SCREW

VENT

1шт.

18

785602R1

O-RING

1шт.

19

3078926R1

PIN

1шт.

20

3079156R1

LOCK WASHER

LOCK

1шт.

21

3078927R1

WASHER

1шт.

22

3078928R1

BLOCK DRIVER

1шт.

22

3078929R1

BLOCK DRIVER

OPTIONAL

1шт.

23

3078945R1

CLEVIS PIN

SCREW, STOP

1шт.

24

3079141R1

NUT

1шт.

25

3078932R1

GASKET

1шт.

26

3078946R1

COVER

1шт.

27

3079158R2

BOLT,Hex, 5/16" x 5/8", Gr 5

2шт.

28

3078934R1

SPRING

1шт.

29

933987R1

LOCK WASHER,M6

2шт.

30

86500688

NUT,Hex, M6 x 1.0, Cl 10.9

2шт.

31

3132885R1

BOLT

1шт.

32

86500688

NUT,Hex, M6 x 1.0, Cl 10.9

1шт.

33

3078947R1

LEVER

1шт.

33

3078948R1

LEVER

OPTIONAL

1шт.

34

3059096R1

NUT

1шт.

35

3078949R1

SCREW

STOP

1шт.

36

3078942R1

PLATE

PLUG

1шт.

37

934270R1

BOLT

1шт.

38

934271R1

HARDWARE

BOLT

1шт.

41

3079021R1

WASHER

1шт.

41

625587C1

WASHER

OPTIONAL

1шт.

42

933990R1

CIRCLIP,M4

WASHER, LOCK

1шт.

Выбрано товаров: 43