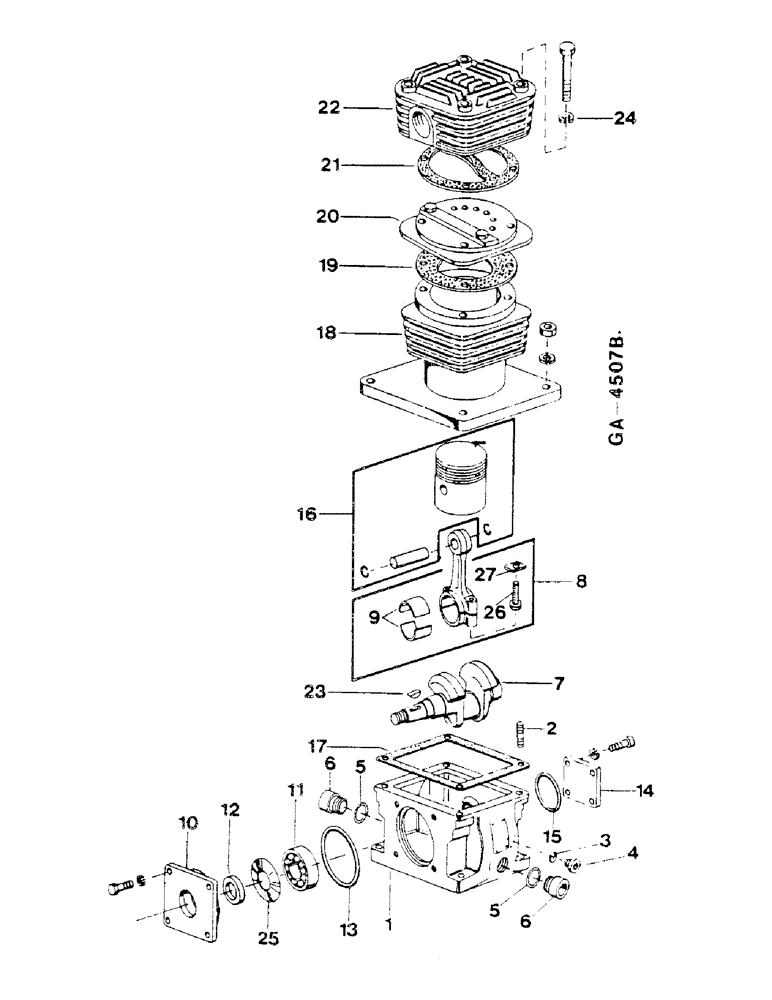
Запчасти Case IH D-155 (16-08) - COMPRESSOR, WESTINGHOUSE

Схема запчастей Case IH D-155 - (16-08) - COMPRESSOR, WESTINGHOUSE
6
14
11
3
21
5
4
17
8
27
6
12
5
13
23
22
9
1
18
15
10
19
7
25
26
20
2
16
24
FIT
1:1
100%

Артикул

Название

Примечание

Количество

3143315R92

COMPRESSOR

CONSISTS OF ITEMS 1 THRU 27

1шт.

1

3143142R91

CRANKCASE, WITH BEARING

1шт.

2

934216R1

STUD

M8 X 22 MM

4шт.

3

934667R1

SEALING RING,M10 x 14 x 1

Packing

1шт.

4

933689R1

PLUG,Hex Soc, M10 x 1

1шт.

5

934209R1

PACKING RING

2шт.

6

934025R1

PLUG,Hex Soc, M22 x 1.5

2шт.

7

3143143R1

CRANKSHAFT

1шт.

8

3143144R92

ROD, CONNECTING

WITH ITEMS 9, 26 AND 27

1шт.

9

3143146R2

CRANKSHAFT BEARING

CONNECTING ROD

1шт.

10

3143147R91

HOUSING, BEARING

COVER, BEARING, WITH ITEMS 11 AND 25

1шт.

931618R1

BOLT,Hex, M8 x 1.25 x 16mm, Cl 8.8, Full Thd

4шт.

934236R1

LOCK WASHER,M8

4шт.

11

3143148R1

ROLLER BEARING

1шт.

11

3143149R1

BEARING, ROLLER

OPTIONAL

1шт.

12

3143200R1

SEAL,Radial Lip, M28 x 40 x 7

OIL 28 X 40 X 7 MM

1шт.

13

3143151R1

O-RING

4шт.

14

898739H1

COVER

1шт.

931618R1

BOLT,Hex, M8 x 1.25 x 16mm, Cl 8.8, Full Thd

4шт.

934236R1

LOCK WASHER,M8

4шт.

15

3143152R1

O-RING

1шт.

16

3143153R92

PISTON

ORDER ALSO 3143157R2

1шт.

17

3143156R1

GASKET

1шт.

18

3143157R2

BLOCK

CYLINDER, ORDER ALSO 3142153R92

1шт.

43362

NUT,M8 x 1.25, Cl 10

4шт.

934236R1

LOCK WASHER,M8

4шт.

19

3143160R1

GASKET

1шт.

20

3143161R1

VALVE

SPARE PART DISC

1шт.

21

3143162R1

GASKET

1шт.

22

3215695R1

SPARE PART CYLINDER

1шт.

930345R1

BOLT,Hex, M8 x 1.25 x 65mm, Cl 8.8

M8 X 65 MM

4шт.

23

932610R1

WOODRUFF KEY,M5 x 7.5

1шт.

24

3143164R1

WASHER

4шт.

25

3143150R1

WASHER, LOCK

1шт.

26

931103R1

BOLT,Hex, M8 x 1.25 x 35mm, Cl 8.8

M8 X 35 MM

2шт.

27

3143145R1

LOCK WASHER

1шт.

Выбрано товаров: 36