Запчасти Case IH D-179 (A-04) - CONNECTING RODS, PISTONS AND SLEEVES, FOUR RING PISTONS

Схема запчастей Case IH D-179 - (A-04) - CONNECTING RODS, PISTONS AND SLEEVES, FOUR RING PISTONS
7
1
12
10
11
14
6
2
5
13
4
15
3
8
7
9
FIT
1:1
100%

Артикул

Название

Примечание

Количество

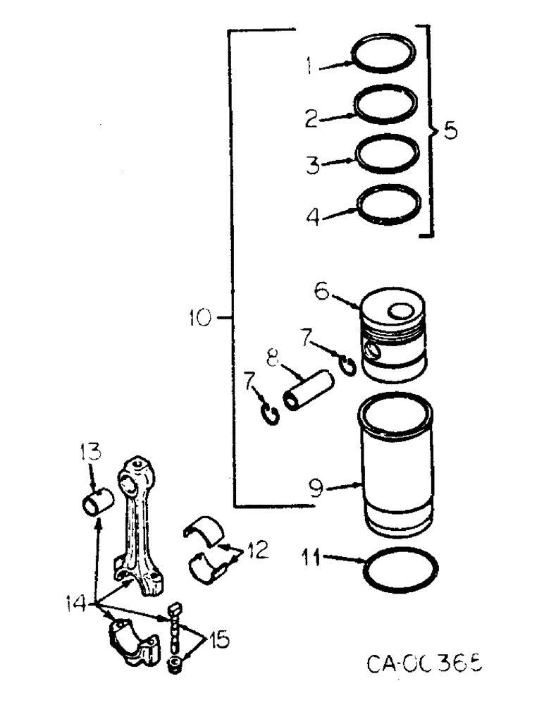
1

RING, compression, First, Order reference no. 5

3шт.

2

RING, compression, Second, Order reference no. 5

3шт.

3

RING, compression, Third, Order reference no. 5

3шт.

4

RING, oil control, Fourth, Order reference no. 5

3шт.

5

3059263R93

RING, SET

RING SET, piston, For four ring pistons, Optional w/3138670R92, Consists of three compression and one oil ring

3шт.

5

3138670R92

PISTON RING SET

RING SET, piston, chrome, Consists of three compression and one oil ring, For four ring pistons, Optional w/3059263R93

3шт.

5

3144452R92

PISTON RING SET

RING SET, piston, For 3 ring pistons w/rectangular shaped top ring groove, Optional w/3218416R91, Consists of two compression and one oil ring

3шт.

5

3218416R91

PISTON RING SET

RING SET, piston, chrome, For 3 ring pistons w/rectangular shaped top ring groove, Optional w/3144452R92, Consists of two compression and one oil ring

3шт.

5

3139594R91

PISTON RING

RING SET, piston, chrome, For 3 ring pistons w/keystone shaped top ring groove, Consists of two compression and one oil ring

3шт.

6

PISTON, Not serviced separately

3шт.

7

933327R1

SNAP RING,M36, Int

SPRING, retainer

6шт.

8

3055217R2

PISTON PIN

PIN, piston

3шт.

9

SLEEVE, cylinder, Not serviced separately

3шт.

10

3144257R92

SLEEVE CYLINDER

3шт.

PISTON W/SLEEVE, piston w/sleeve set, 3144257R92, Contains a 3 ring piston w/rectangular shaped top ring groove, When servicing an engine that has 4 ring piston w/sleeve assemblies all piston (3) piston w/sleeve assemblies must be replaced with (3) piston w/sleeve assemblies, 3144257R92

1шт.

11

3218603R1

O-RING

3шт.

12

3055351R91

BEARING ASSY

BEARING ASSY, connecting rod, std

3шт.

12

3056834R11

BEARING ASSY

BEARING ASSY, connecting rod - .010 U/S

3шт.

12

3056879R11

BEARING ASSY

BEARING ASSY, connecting rod - .020 U/S

3шт.

12

3055781R11

BEARING ASSY

ASSY, connecting rod - .030 U/S

3шт.

13

3132018R1

BUSHING

piston pin, Engine must be equipped with cylinder head gasket, 3144181R2

3шт.

14

3055030R24

ROD, CONNECTING

ROD ASSY, connecting

3шт.

15

3055033R11

BOLT

W/Nut, Connecting rod

6шт.

3218538R1

SHIM

cylinder sleeve - 0,05MM

1шт.

3218539R1

SHIM

cylinder sleeve - 0,1MM

1шт.

3218540R1

SHIM,112.06mm ID x 118.6mm OD x 0.25mm Thk

cylinder sleeve - 0,25MM

1шт.

3218541R1

SHIM

cylinder sleeve - 0,5MM

1шт.

3218542R1

SHIM

cylinder sleeve - 0,8MM

1шт.

Выбрано товаров: 28