Запчасти Case IH BD-144 (A-11) - CYLINDER HEAD AND RELATED PARTS

Схема запчастей Case IH BD-144 - (A-11) - CYLINDER HEAD AND RELATED PARTS
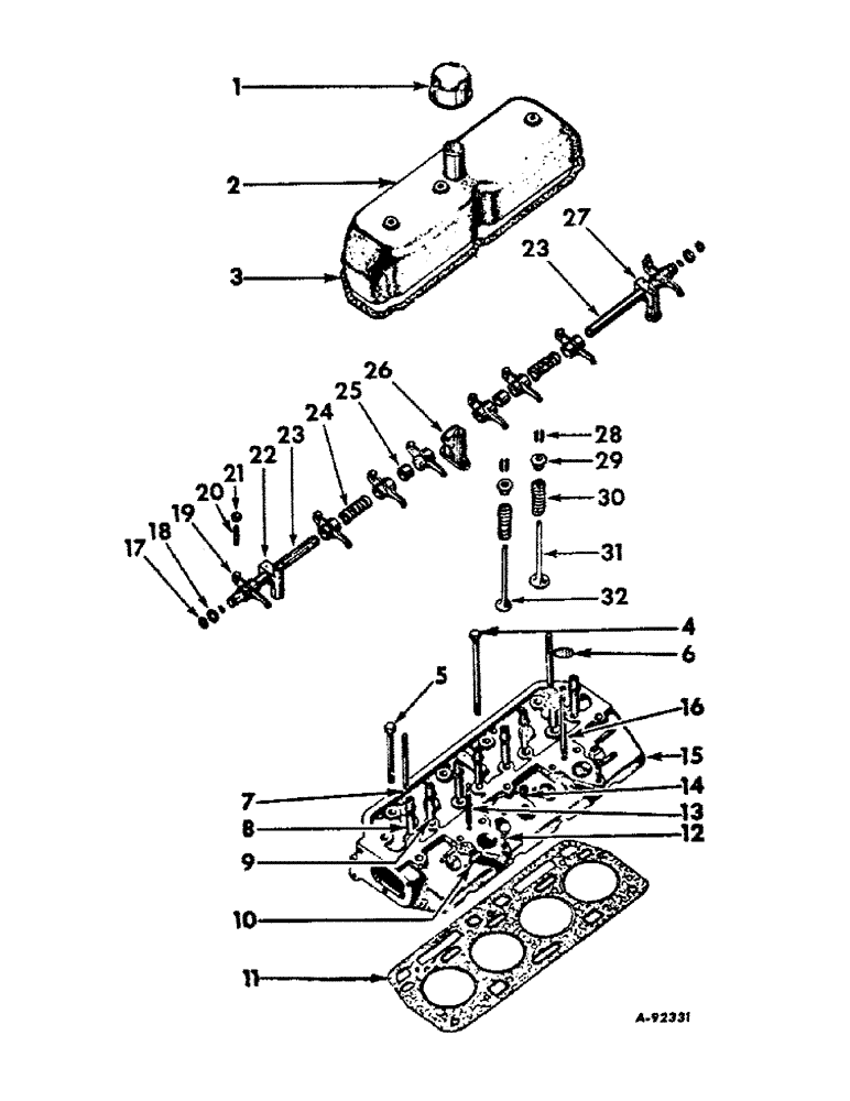
2
9
10
8
23
20
29
5
11
14
28
26
4
1
13
30
19
22
27
17
16
24
3
6
25
7
31
18
12
21
23
15
32
FIT
1:1
100%

Артикул

Название

Примечание

Количество

1

364901R91

BREATHER

cylinder head

1шт.

1

364901R91GV

CAP

Value, Breather Cap

1шт.

2

703894R21

COVER

valve housing

1шт.

102635

NUT,3/8"-16, G5

2шт.

3

3069767R1

GASKET

valve cover

1шт.

4

708332R1

BOLT,Cyl Hd

long cylinder head

1шт.

63116D

WASHER

cylinder head bolt

1шт.

5

708331R1

BOLT

BOLT, short cylinder head

15шт.

63116D

WASHER

cylinder head bolt

15шт.

6

172558

PLUG,Exp, 1 1/4"

expansion

1шт.

7

703875R1

STUD

rocker shaft and bracket

2шт.

8

704456R2

VALVE GUIDE

GUIDE, valve stem, exhaust

4шт.

9

704455R1

VALVE GUIDE

GUIDE, valve stem, intake

4шт.

10

703876R2

STUD

injection nozzle holder

8шт.

11

703883R7

CYLINDER HEAD GASKET

GASKET, cylinder head

1шт.

12

703877R1

STUD

intake manifold LH

1шт.

13

703878R1

STUD, intake manifold RH front

1шт.

14

219199

PLUG

1/2 sq-hd malleable iron pipe

1шт.

14

217-519

DRAIN PLUG,Sq Hd, 1/2"-14 NPTF

PLUG, , Pipe, Cast iron Sq Hd, 1/2"-14 NPTF

1шт.

15

703872R97

NO LONGER SERVICED

HEAD CYLINDER ASSY., with valves, Consists of

1шт.

704446R1

CUP

8шт.

3043824R11

CYLINDER HEAD

HEAD

1шт.

704443R1

WEDGE

LOCK

16шт.

710347R2

VALVE SPRING

SPRING

8шт.

704434R1

LOCK VALVE

VALVE

4шт.

3043825R1

STD EXHAUST VALVE

VALVE

4шт.

15

3043824R11

CYLINDER HEAD

HEAD CYLINDER ASSY., less valves, Consists of

1шт.

704455R1

VALVE GUIDE

GUIDE

4шт.

704456R2

VALVE GUIDE

GUIDE

4шт.

172558

PLUG,Exp, 1 1/4"

1шт.

703874R1

STUD

4шт.

703876R2

STUD

8шт.

703875R1

STUD

2шт.

703877R1

STUD

2шт.

703878R1

STUD

1шт.

703879R2

STUD

1шт.

16

703879R2

STUD, intake manifold RH rear

1шт.

17

43375D

RING

valve lever shaft snap

2шт.

18

43374D

SPRING WASHER

valve lever shaft spring

2шт.

19

706131R11

ROCKER

LEVER, w/eight bushings 24564DA valve

8шт.

19

709338R1

LEVER

valve, Spheroidal graphite iron

8шт.

24564DA

BUSHING

rocker arm

8шт.

20

16067DA

ADJUSTMENT SCREW,3/8" - 24

adjusting valve lever

8шт.

21

133093R1

NUT,Hex, 3/8" - 24

valve lever adjusting screw

8шт.

22

703886R2

SUPPORT

BRACKET, valve lever shaft front

1шт.

102635

NUT,3/8"-16, G5

1шт.

442934

GROOVED PIN,3/16" x 1 1/4", Type B

Pin, Grooved, 3/16" x 1 1/4", Type B

1шт.

23

703884R21

CAMSHAFT

SHAFT W/PLUG, 172528 valve lever

2шт.

172528

PLUG,Exp, 9/16"

valve lever shaft end

2шт.

24

45949D

SPRING

valve lever

2шт.

25

703893R2

SPACER

valve lever

2шт.

26

703885R1

SUPPORT

BRACKET, valve lever shaft center

1шт.

27

703887R2

SUPPORT

BRACKET, valve lever shaft rear

1шт.

103635

HOUSING

NUT, 3/8 hex.

1шт.

442934

GROOVED PIN,3/16" x 1 1/4", Type B

Pin, Grooved, 3/16" x 1 1/4", Type B

1шт.

28

704443R1

WEDGE

LOCK, valve spring

16шт.

29

704446R1

CUP

valve spring retainer

8шт.

30

710347R2

VALVE SPRING

SPRING, valve

8шт.

31

704434R1

LOCK VALVE

VALVE, intake

4шт.

32

704435R1

VALVE

exhaust, Engine serial no. 27051 and below

4шт.

32

3043825R1

STD EXHAUST VALVE

VALVE, exhaust, Engine serial no. 27052 and above

4шт.

Выбрано товаров: 61