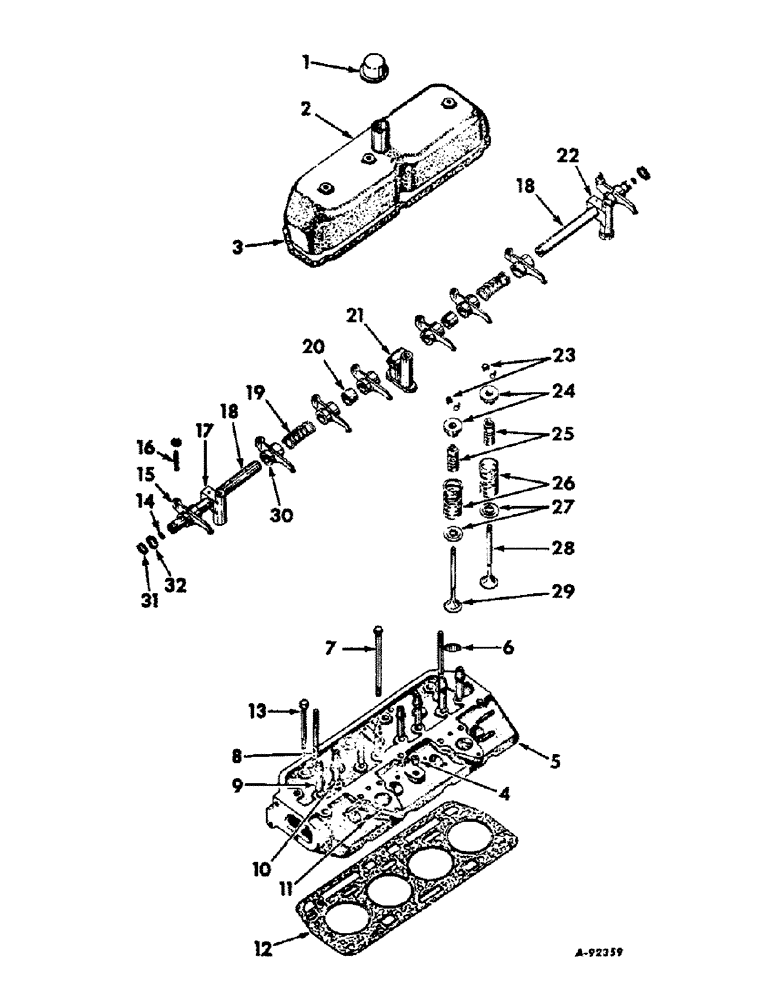
Запчасти Case IH BD-154 (B-16) - CYLINDER HEAD AND RELATED PARTS

Схема запчастей Case IH BD-154 - (B-16) - CYLINDER HEAD AND RELATED PARTS
19
7
9
29
27
5
18
12
4
23
26
1
28
10
32
11
13
25
31
2
14
8
17
20
15
3
16
18
24
22
30
21
6
FIT
1:1
100%

Артикул

Название

Примечание

Количество

1

364899R91

BREATHER

ASSY., Replaces 364901R91, 424, 2424, 444 and 2444 tractors

1шт.

1

3049701R91

FILTER, ELEMENT

BREATHER ASSY., B-414, 3414, 3444 tractors, and 7000 fork lift

1шт.

2

3069250R91

COVER ASSY., valve housing, 424, 2424, 444 and 2444 tractors

1шт.

2

703894R21

COVER

valve housing, B-414, 3414, 3444 tractors and 7000 fork lift

1шт.

114503

JAM NUT,Jam, 3/8"-16, G5

2шт.

179833

BOLT,Hex, 3/8" - 16 x 1/2", Gr 5, Full Thd

1шт.

Q1597

WASHER

13/32 x 3/4 x 16 ga

1шт.

3

3069767R1

GASKET

valve cover

1шт.

4

217-519

DRAIN PLUG,Sq Hd, 1/2"-14 NPTF

PLUG, , Pipe Sq Hd, 1/2"-14 NPTF

1шт.

5

3062555R91

CYLINDER HEAD

HEAD W/VALVES ASSY., cylinder, 424, 2424, 444, 2444, 3414 and 3444 tractors and 7000 fork lift, Consists of

1шт.

3044176R1

CUP

8шт.

3044491R1

CUP

8шт.

3062526R91

CYLINDER HEAD

HEAD

1шт.

704443R1

WEDGE

LOCK

16шт.

3044239R1

VALVE SPRING

SPRING

8шт.

3044240R1

VALVE SPRING

SPRING

8шт.

3040361R1

OVERSIZE INLET VALVE

VALVE

4шт.

3043826R1

LOCK VALVE

VALVE

4шт.

5

3062526R91

CYLINDER HEAD

HEAD ASSY., cylinder, 424, 2424, 444, 2444, 3414 and 3444 tractors and 7000 fork lift, Consists of

1шт.

3044492R1

VALVE GUIDE

GUIDE

4шт.

3044493R2

VALVE GUIDE

GUIDE

4шт.

NSS

NOT SOLD SEPARAT

HEAD

1шт.

172558

PLUG,Exp, 1 1/4"

2шт.

703874R1

STUD

4шт.

703876R2

STUD

8шт.

3062528R1

STUD

2шт.

5

3044489R91

CYLINDER HEAD

HEAD W/VALVES ASSY., cylinder, B-414 tractors, Consists of

1шт.

3044490R91

HEAD (CYLINDER)

HEAD

1шт.

3040361R1

OVERSIZE INLET VALVE

VALVE

4шт.

3043826R1

LOCK VALVE

VALVE

4шт.

3044239R1

VALVE SPRING

SPRING

8шт.

3044240R1

VALVE SPRING

SPRING

8шт.

704443R1

WEDGE

LOCK

16шт.

3044176R1

CUP

8шт.

3044491R1

CUP

8шт.

5

3044490R91

HEAD (CYLINDER)

HEAD ASSY., cylinder, B-414 tractors, Consists of

1шт.

NSS

NOT SOLD SEPARAT

HEAD

1шт.

172558

PLUG,Exp, 1 1/4"

2шт.

703874R1

STUD

4шт.

703875R1

STUD

2шт.

703876R2

STUD

8шт.

3044492R1

VALVE GUIDE

GUIDE

8шт.

3044493R1

VALVE GUIDE

GUIDE

4шт.

6

172558

PLUG,Exp, 1 1/4"

1-1/4 dia expansion

1шт.

7

708332R1

BOLT,Cyl Hd

cylinder head, Long

1шт.

63116D

WASHER

cylinder head bolt

1шт.

8

3062528R1

STUD

rocker shaft end bracket

2шт.

9

3044493R2

VALVE GUIDE

GUIDE, exhaust valve

4шт.

10

3044492R1

VALVE GUIDE

GUIDE, intake valve

4шт.

11

703876R2

STUD

injection nozzle holder

8шт.

12

703883R7

CYLINDER HEAD GASKET

GASKET, cylinder head

1шт.

3049382R1

GROMMET

cylinder head gasket

1шт.

13

708331R1

BOLT

BOLT, cylinder head, Short

15шт.

63116D

WASHER

cylinder head bolt

15шт.

14

172528

PLUG,Exp, 9/16"

9/16 dia type 1 expansion, Valve lever shaft end

2шт.

15

706131R11

ROCKER

LEVER W/BUSHING, 24564DA, Valve

8шт.

16

16067DA

ADJUSTMENT SCREW,3/8" - 24

valve lever adjusting

8шт.

133093R1

NUT,Hex, 3/8" - 24

valve lever adjusting screw

8шт.

17

703886R2

SUPPORT

BRACKET, valve lever shaft front

1шт.

102635

NUT,3/8"-16, G5

1шт.

442934

GROOVED PIN,3/16" x 1 1/4", Type B

Pin, Grooved, 3/16" x 1 1/4", Type B

1шт.

18

703884R21

CAMSHAFT

SHAFT W/PLUG 172528, Valve lever

2шт.

19

45949D

SPRING

valve lever

2шт.

20

703893R2

SPACER

valve lever

2шт.

21

703885R1

SUPPORT

BRACKET, valve lever shaft center

1шт.

22

703887R2

SUPPORT

BRACKET, valve lever shaft rear

1шт.

102635

NUT,3/8"-16, G5

1шт.

442934

GROOVED PIN,3/16" x 1 1/4", Type B

Pin, Grooved, 3/16" x 1 1/4", Type B

1шт.

23

704443R1

WEDGE

LOCK, valve spring

16шт.

24

3044176R1

CUP

valve spring retainer upper

8шт.

25

3044239R1

VALVE SPRING

SPRING, valve inner

8шт.

26

3044240R1

VALVE SPRING

SPRING, valve outer

8шт.

27

3044491R1

CUP

valve spring retainer lower

8шт.

28

3040361R1

OVERSIZE INLET VALVE

VALVE, intake

4шт.

29

3043826R1

LOCK VALVE

VALVE, exhaust

4шт.

30

24564DA

BUSHING

valve lever

8шт.

31

43375D

RING

valve lever shaft snap

2шт.

32

43374D

SPRING WASHER

valve lever shaft spring

2шт.

Выбрано товаров: 78