Запчасти Case IH BD-154 (B-27) - OIL PUMP, 3414 DOZER, 424, 2424, 444, 2444, 3444 TRACTORS AND 7000 FORK LIFT

Схема запчастей Case IH BD-154 - (B-27) - OIL PUMP, 3414 DOZER, 424, 2424, 444, 2444, 3444 TRACTORS AND 7000 FORK LIFT
11
3
14
12
9
4
19
18
10
6
7
8
16
2
1
13
20
5
3
17
FIT
1:1
100%

Артикул

Название

Примечание

Количество

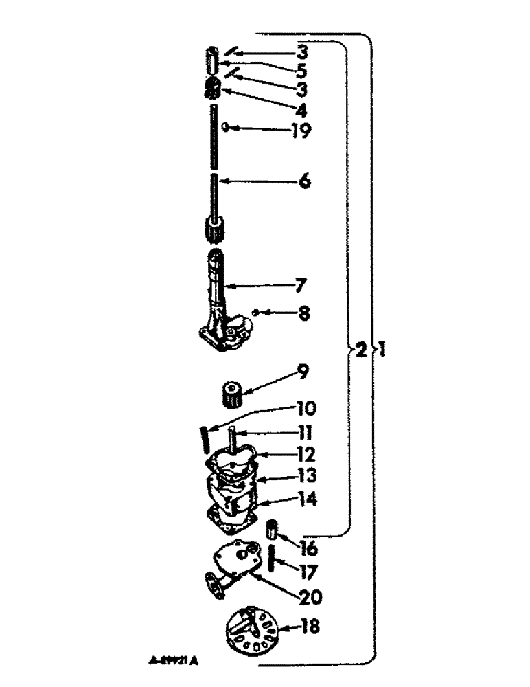
1

3064060R91

PUMP

ASSY., oil

1шт.

179840

BOLT,Hex, 3/8" - 16 x 1 1/8", Gr 5

SCREW, 3/8-16 x 1-1/8 hex-hd cap

1шт.

115549

LOCK WASHER,Int Tooth, 3/8"

WASHER, LOCK, Int Tooth, 3/8"

1шт.

2

3043132R93

BODY

ASSY., oil pump

1шт.

3

932204R1

LOCK PIN,M3 x 20, Slotted

PIN, roll 1/8 x 25/32

2шт.

4

704107R1

GEAR

PINION, oil pump drive

1шт.

5

3042479R1

COUPLING, BREAK AWAY

COUPLING, hourmeter drive

1шт.

6

3042572R91

SHAFT

ASSY., oil pump drive

1шт.

7

3042570R91

BODY

ASSY., oil pump, Consists of

1шт.

NSS

NOT SOLD SEPARAT

BODY

1шт.

NSS

NOT SOLD SEPARAT

CASE

1шт.

706628R1

GASKET

1шт.

932205R1

LOCK PIN,M10 x 40, Slotted

PIN

2шт.

103883

PIPE PLUG,Slotted, Headless, 1/8" NPT

PLUG, PIPE, Slotted, Headless, 1/8" NPT

1шт.

NSS

NOT SOLD SEPARAT

SHAFT

1шт.

8

103883

PIPE PLUG,Slotted, Headless, 1/8" NPT

PLUG, PIPE, Slotted, Headless, 1/8" NPT

1шт.

9

3063757R1

GEAR

oil pump body

1шт.

10

932205R1

LOCK PIN,M10 x 40, Slotted

PIN, roll 13/32 x 1-19/32

2шт.

11

NSS

NOT SOLD SEPARAT

SHAFT, oil pump idler, Not serviced separately

1шт.

12

706628R1

GASKET

oil pump body

1шт.

13

NSS

NOT SOLD SEPARAT

CASE, oil pump gear, Not serviced separately

1шт.

14

711558R1

GASKET

oil pump gear

1шт.

15

Not used in this application.

1шт.

16

751830R2

VALVE

oil pressure regulating

1шт.

17

751829R1

SPRING

oil pressure regulating valve

1шт.

18

3064062R91

FILTER SCREEN

SCREEN, oil pump

1шт.

108633

BEARING CONE,68.26mm ID x 22.07mm W

PIN, 1/8 x 1-1/8 cotter

1шт.

179791

BOLT,Hex, 1/4" - 20 x 1/2", Gr 5

2шт.

103319

LOCK WASHER,1/4"

WASHER, LOCK, 1/4"

2шт.

19

103905

KEY

1/8 x 5/8 Woodruff 5

2шт.

20

3064061R1

COVER

oil pump

1шт.

9635082

NUT,5/16" - 18, Gr 5

5/16-18 hex.

2шт.

179826

BOLT,Hex, 5/16" - 18 x 2", Gr 5

2шт.

179828

BOLT,Hex, 5/16" - 18 x 2 1/2", Gr 5

2шт.

WASHER, 5/16 int-tooth lock

4шт.

Выбрано товаров: 0