Запчасти Case IH D-188 (C-20) - INJECTION NOZZLE AND PRE-COMBUSTION CHAMBER

Схема запчастей Case IH D-188 - (C-20) - INJECTION NOZZLE AND PRE-COMBUSTION CHAMBER
3
4
2
1
9
12
15
8
5
11
6
10
3
7
13
14
FIT
1:1
100%

Артикул

Название

Примечание

Количество

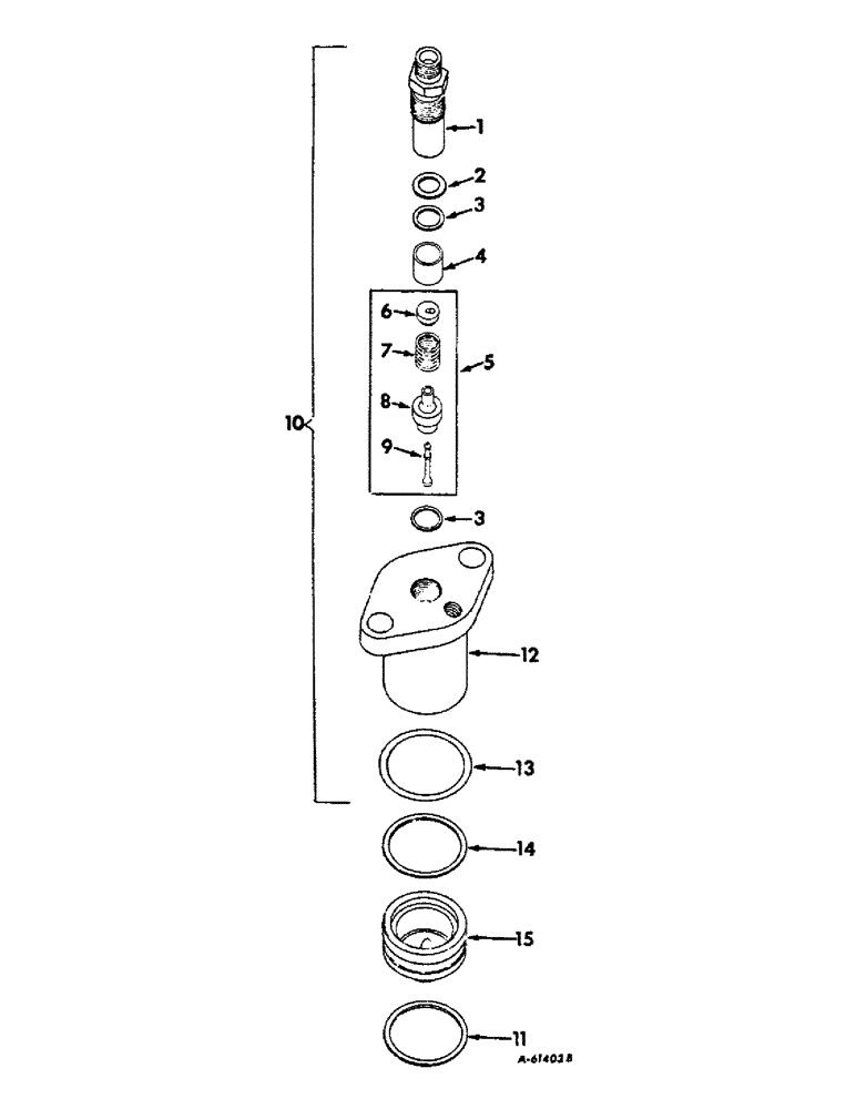
1

278321R1

SOCKET

FITTING, nozzle

4шт.

2

279274R1

GASKET

nozzle

4шт.

3

279274R1

GASKET

nozzle valve

8шт.

4

310402R1

SPACER

SLEEVE, nozzle valve

4шт.

5

330303R91

VALVE

ASSY., nozzle

4шт.

6

310394R1

SEAT

nozzle spring, .100, .102

1шт.

6

310395R1

SEAT

nozzle spring, .103, .104

1шт.

6

310396R1

SEAT, nozzle spring, .105, .106

1шт.

6

310397R1

SEAT

nozzle spring, .107, .108

1шт.

6

310398R1

SEAT

nozzle spring, .109, .110

1шт.

6

310399R1

SEAT

nozzle spring, .111, .112

1шт.

6

310400R1

SEAT

nozzle spring, .113, .114

1шт.

6

310401R1

SEAT

nozzle spring, .115, .116

1шт.

7

310393R1

SPRING

nozzle valve

1шт.

8

NSS

NOT SOLD SEPARAT

SEAT, nozzel valve, Not serviced separately, Order valve 330303R91

1шт.

9

NSS

NOT SOLD SEPARAT

VALVE, nozzle, Not serviced separately, Order valve, 330303R91

1шт.

10

332487R91

NOZZLE INJECTION

NOZZLE ASSY., injection

4шт.

11

260879R4

GASKET

nozzle body

1шт.

12

310389R1

BODY

nozzle

4шт.

13

251044R2

O-RING,4.32mm Thk x 43.26mm ID

SEAL, nozzle body dust

4шт.

14

260879R4

GASKET

pre-combustion chamber

4шт.

15

278274R3

CHAMBER

pre-combustion

4шт.

Выбрано товаров: 22